• 专利申请
    2023-04-06
  • 公布公告
    2023-05-26
  • 授权日期
    2023-09-15
  • 终止
    2033-05-23
应用于复杂地面且具有平衡功能的工业机器人
应用于复杂地面且具有平衡功能的工业机器人
* 专利信息仅供参考,不具有法律效力。 有效专利
CN202310354554.0 2023-04-06 B25J5/00 {{ classMap["B25J5/00"] }}
云南涟浪机器人科技有限公司 查看申请人名下所有专利
云南省昆明市盘龙区拓东路138号拓东大厦8楼806室
专利分类项目
专利注册信息
初审公告期号 2023-04-06 初审公告日期 2023-05-26
注册公告期号 2023-09-15 注册公告日期 2023-09-15
专用权期限 2023-05-26 - 2033-05-23 专利类型 发明公开
代理组织机构 --
专利介绍
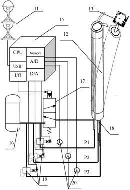
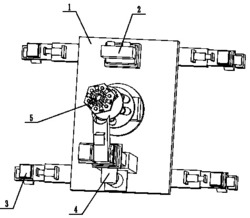
本发明涉及工业机器人相关技术领域,公开了应用于复杂地面且具有平衡功能的工业机器人,通过八组多自由的多功能机械臂的设置,使得机器人可以在复杂地面进行爬行,同时多功能机械臂上的多向驱动轮使得机器人不仅可以爬行,还可以通过轮式驱动快速朝任意方向移动,更具有灵活性,同时多功能机械臂上的抓取机械手使得多功能机械臂不仅可以作为移动工具,也可以用来进行拾取采样等精密操作,需要时可以利用多组多功能机械臂进行协同配合,相较传统的机械臂更具有灵活性,可以适应各种复杂环境下的工作。
法律进度
  • 2023-09-15 授权 ...

  • 2023-06-13 实质审查的生效 IPC(主分类): B25J 5/00 专利申请号: 202310354554.0 申请日: 2023.04. ...

  • 2023-05-26 公开 ...

同类专利

咨询该专利

您还可以
推荐专利
{{ v.name }}
取 消 确 定