• 专利申请
    2024-04-02
  • 公布公告
    2024-06-18
  • 授权日期
    2024-06-18
  • 终止
    2034-06-16
一种轨迹驱动式机械手
一种轨迹驱动式机械手
* 专利信息仅供参考,不具有法律效力。 有效专利
CN202410393159.8 2024-04-02 B25J18/00 {{ classMap["B25J18/00"] }}
沈阳慧竹科技有限公司 查看申请人名下所有专利
辽宁省沈阳市皇姑区宁山中路42号沈阳数字经济产业大厦裙楼3楼3106室
专利分类项目
专利注册信息
初审公告期号 2024-04-02 初审公告日期 2024-06-18
注册公告期号 2024-06-18 注册公告日期 2024-06-18
专用权期限 2024-06-18 - 2034-06-16 专利类型 发明授权
代理组织机构 --
专利介绍
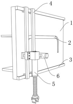
本发明公开了一种轨迹驱动式机械手,涉及机械手领域,包括侧板,所述侧板的一侧开设有滑槽,所述侧板的顶端和底端分别固定连接有一组导轨,两组所述导轨的外壁滑动连接有两组导向柱,所述导向柱外壁滑动连接有机械臂,所述侧板的另一侧固定连接有动力机构,所述动力机构的顶端固定连接有润滑机构。本发明使得在推动机械爪反复抓起放下的过程中电机只需要向着一个方向转动,从而避免了电机反复正反转,保证了电机的使用寿命,降低了电机的故障率,从而节约了使用成本,使得在机械手运行的过程中,通过一号滑动框带动润滑机构将润滑油喷到滑槽内部,这些润滑油顺着滑槽流到滑槽底端后通过管道流入储油仓内部进行循环使用。
法律进度
  • 2024-06-18 授权 ...

  • 2024-05-21 实质审查的生效 IPC(主分类): B25J 18/00 专利申请号: 202410393159.8 申请日: 2024.04 ...

  • 2024-05-03 公开 ...

同类专利

咨询该专利

您还可以
推荐专利
{{ v.name }}
取 消 确 定