• 专利申请
    2013-11-26
  • 公布公告
    2016-08-17
  • 授权日期
    2016-08-17
  • 终止
    2026-08-15
一种复合发酵型党参保健酒及生产方法
一种复合发酵型党参保健酒及生产方法
* 专利信息仅供参考,不具有法律效力。 有效专利
CN201310603265.6 2013-11-26 C12G3/02 {{ classMap["C12G3/02"] }}
青岛嘉瑞生物技术有限公司 查看申请人名下所有专利
山东省青岛市市南区仙游路16号1324室
专利分类项目
专利注册信息
初审公告期号 2013-11-26 初审公告日期 2016-08-17
注册公告期号 2016-08-17 注册公告日期 2016-08-17
专用权期限 2016-08-17 - 2026-08-15 专利类型 发明授权
代理组织机构 --
专利介绍
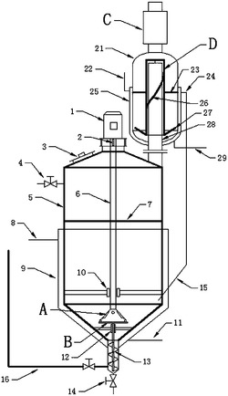
本发明的目的在于提供一种复合发酵型党参保健酒及其生产方法。该发明选用党参、枸杞、甜叶菊、大米为原料通过复合发酵生产工艺生产酒质温和爽口、风味独特,营养价值高的党参保健酒,产品中基本保持党参中的天然营养成分,且富含人体所需的党参多糖、党参炔苷、多种氨基酸、维生素、黄酮及矿物质,具有滋补健体、增强免疫力、增加造血功能、降血压、降血糖、抗衰老等功效。本发明优势在于:一一是采用超声波辅助提取工艺,且在发酵过程中通过微生物的降解作用,活性物质提取率高;二是采用党参提取液、枸杞汁和大米糖化液复合发酵,提高了党参保健酒的营养水平;三是采用微孔膜过滤的生产工艺,产品澄清度高,除菌、除杂效果好,灭菌效果彻底,替代了传统的巴氏灭菌法,产品中营养成分损失小。
法律进度
  • 2024-04-19 专利实施许可合同备案的生效 IPC(主分类): C12G 3/02 专利号: ZL 201310603265.6 申请日: 2013.11 ...

  • 2020-06-02 专利权的转移 登记生效日: 2020.05.13 专利权人由青岛嘉瑞生物技术有限公司变更为涡阳县兴炉酒业有限公司 地址由26 ...

  • 2016-08-17 授权 ...

  • 2015-08-12 实质审查的生效 IPC(主分类): C12G 3/02 专利申请号: 201310603265.6 申请日: 2013.1 ...

  • 2014-02-26 公开 ...

同类专利

咨询该专利

您还可以
推荐专利
{{ v.name }}
取 消 确 定