• 专利申请
    2022-09-13
  • 公布公告
    2024-04-05
  • 授权日期
    2024-04-05
  • 终止
    2034-04-03
一种具有刚柔切换的磁性抓取结构的机器人
一种具有刚柔切换的磁性抓取结构的机器人
* 专利信息仅供参考,不具有法律效力。 有效专利
CN202211156070.7 2022-09-13 B25J15/06 {{ classMap["B25J15/06"] }}
承德石油高等专科学校 查看申请人名下所有专利
河北省承德市高新区学院路2号
专利分类项目
专利注册信息
初审公告期号 2022-09-13 初审公告日期 2024-04-05
注册公告期号 2024-04-05 注册公告日期 2024-04-05
专用权期限 2024-04-05 - 2034-04-03 专利类型 发明授权
代理组织机构 --
专利介绍
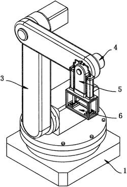
本发明公开了一种具有刚柔切换的磁性抓取结构的机器人,包括:基座,基座的上表面固定连接有伺服电机,伺服电机的驱动端固定连接有机械臂,机械臂的侧表面固定连接有步进电机,机械臂位于步进电机的一端转动连接有连接臂,步进电机的驱动端贯穿机械臂设置,步进电机的驱动端与连接臂的内壁固定连接,当对设备的抓取结构进行刚柔切换时,利用装置中的控制机构,对磁铁的位置进行实时调整,并通过磁铁持续对工件进行磁力吸附,因磁铁调整后会逐渐远离或靠近工件,并加强或降低对工件的吸附效果,使得抓取机构可在刚性抓取和柔性抓取的方式上进行切换,实现了设备可对刚性和柔性抓取方式上进行快速切换的能力。
法律进度
  • 2024-04-05 授权 ...

  • 2023-12-19 实质审查的生效 IPC(主分类): B25J 15/06 专利申请号: 202211156070.7 申请日: 2022.09 ...

  • 2023-12-05 公开 ...

同类专利

咨询该专利

您还可以
推荐专利
{{ v.name }}
取 消 确 定