• 专利申请
    2019-08-06
  • 公布公告
    2020-01-31
  • 授权日期
    2020-01-31
  • 终止
    2030-01-28
一种晒版成品防护装置
一种晒版成品防护装置
* 专利信息仅供参考,不具有法律效力。 有效专利
CN201921256420.0 2019-08-06 G03F7/20 {{ classMap["G03F7/20"] }}
苏州鼎诺包装材料有限公司 查看申请人名下所有专利
江苏省苏州市苏州吴中经济开发区兴南路27号3幢
专利分类项目
专利注册信息
初审公告期号 2019-08-06 初审公告日期 2020-01-31
注册公告期号 2020-01-31 注册公告日期 2020-01-31
专用权期限 2020-01-31 - 2030-01-28 专利类型 实用新型
代理组织机构 --
专利介绍
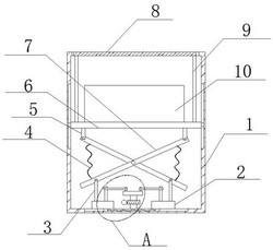
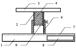
本实用新型公开了一种晒版成品防护装置,包括内壳,所述内壳中放置有晒版成品,且内壳外围套有外壳,所述外壳与内壳均设置为圆筒形,且外壳下端设有固定框,所述外壳与内壳外壁均匀设置有黑色隔热层,且外壳与内壳外壁的其中一处设置为透明隔热层,并且两个透明隔热层的位置相互错位。该晒版成品防护装置设有黑色隔热层,利用黑色隔热层阻隔内壳和外壳受到的光热影响,使晒版成品得到防护作用,且该装置设有第二齿轮,第二齿轮转动通过圆盘作用于与其相连接的转轴,在转轴的转动作用下带动内壳转动,使内壳和外壳的透明隔热层重叠在一起,以此灵活的观察晒版成品的状态,进一步减少了其受光热的影响,让晒版成品的防护效果更好。
法律进度
  • 2020-01-31 授权 ...

同类专利

咨询该专利

您还可以
推荐专利
{{ v.name }}
取 消 确 定