• 专利申请
    2020-12-01
  • 公布公告
    2022-04-19
  • 授权日期
    2022-04-19
  • 终止
    2032-04-16
一种适用于密集环境下的机械臂推抓系统
一种适用于密集环境下的机械臂推抓系统
* 专利信息仅供参考,不具有法律效力。 有效专利
CN202011386636.6 2020-12-01 B25J9/08 {{ classMap["B25J9/08"] }}
浙江工业大学 查看申请人名下所有专利
浙江省杭州市下城区潮王路18号
专利分类项目
专利注册信息
初审公告期号 2020-12-01 初审公告日期 2022-04-19
注册公告期号 2022-04-19 注册公告日期 2022-04-19
专用权期限 2022-04-19 - 2032-04-16 专利类型 发明授权
代理组织机构 杭州天正专利事务所有限公司 查看该机构代理的所有专利
专利介绍
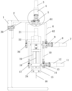
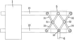
一种适用于密集环境下的机械臂推抓系统,包括PC,彩色深度相机,机械臂,智能夹持器;软件端包括CoppliaSim仿真平台;彩色深度相机通过USB与计算机相连接,机械臂通过局域网与PC连接;彩色深度相机获取彩色RGB图和深度图;计算机执行机械臂控制程序;机械臂执行动作;智能夹持器抓取或推物块。CoppliaSim仿真平台包括仿真模块、标定模块、图像预处理模块、特征提取模块、决策网络模块、动作策略模块、机器人I/O模块、机器人模块。本发明利用仿真和实际相结合,减少因训练而造成的机器人损坏,并加快抓取速度;利用深度强化学习的DQN,依据当前物体环境实时动态规划动作语义,实现推和抓的结合,同时规划出最适合抓取的方向,大大增加了机械臂抓取复杂环境的成功率。
法律进度
  • 2022-04-19 授权 ...

  • 2021-04-23 实质审查的生效 IPC(主分类): B25J 9/08 专利申请号: 202011386636.6 申请日: 2020.12. ...

  • 2021-04-06 公开 ...

同类专利

咨询该专利

您还可以
推荐专利
{{ v.name }}
取 消 确 定