• 专利申请
    2020-06-08
  • 公布公告
    2021-06-22
  • 授权日期
    2021-06-22
  • 终止
    2031-06-20
机械爪及工业机器人
机械爪及工业机器人
* 专利信息仅供参考,不具有法律效力。 有效专利
CN202010512950.8 2020-06-08 B25J15/08 {{ classMap["B25J15/08"] }}
湖南人文科技学院 查看申请人名下所有专利
湖南省娄底市娄星区氐星路487号
专利分类项目
专利注册信息
初审公告期号 2020-06-08 初审公告日期 2021-06-22
注册公告期号 2021-06-22 注册公告日期 2021-06-22
专用权期限 2021-06-22 - 2031-06-20 专利类型 发明授权
代理组织机构 长沙智嵘专利代理事务所 查看该机构代理的所有专利
专利介绍
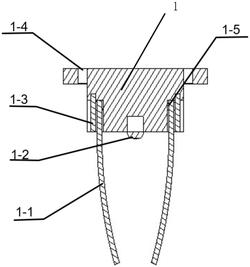
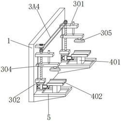
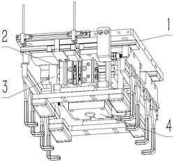
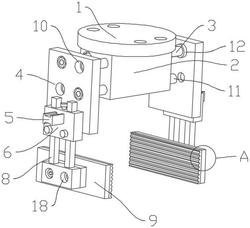
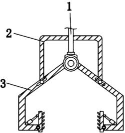
本发明公开了一种机械爪及工业机器人。机械爪,包括壳体,壳体内设有用于动力输出的传动轮组、伸出至壳体外并用于相互配合抓取物品的第一爪臂组件和第二爪臂组件、以及处于传动轮组与第一爪臂组件之间的用于传递扭矩的飞轮组件,第一爪臂组件与第二爪臂组件采用齿轮啮合连接以实现同步向内运动抓取物品或同步向外运动释放物品,飞轮组件与第一爪臂组件传动连接,传动轮组驱动飞轮组件运动并由飞轮组件带动第一爪臂组件运动,进而实现第一爪臂组件和第二爪臂组件之间的抓取动作或释放动作,飞轮组件上设有用于第一爪臂组件与第二爪臂组件之间的抓取力大于预定值时使飞轮组件与传动轮组和/或第一爪臂组件临时脱离的扭矩保护机构。
法律进度
  • 2023-10-27 专利权的转移 登记生效日: 2023.10.12 专利权人由龙图腾网科技(合肥)股份有限公司变更为合肥九州龙腾科技成果转化有 ...

  • 2023-10-27 专利权的转移 登记生效日: 2023.10.12 专利权人由湖南人文科技学院变更为龙图腾网科技(合肥)股份有限公司 地址由4 ...

  • 2021-06-22 授权 ...

  • 2020-10-27 实质审查的生效 IPC(主分类): B25J 15/08 专利申请号: 202010512950.8 申请日: 2020.06 ...

  • 2020-09-29 公开 ...

同类专利

咨询该专利

您还可以
推荐专利
{{ v.name }}
取 消 确 定