• 专利申请
    2020-03-02
  • 公布公告
    2021-04-20
  • 授权日期
    2021-04-20
  • 终止
    2031-04-18
一种平面门窗清洗设备
一种平面门窗清洗设备
* 专利信息仅供参考,不具有法律效力。 有效专利
CN202010135023.9 2020-03-02 A47L1/02 {{ classMap["A47L1/02"] }}
泰州左岸信息科技有限公司 查看申请人名下所有专利
江苏省泰州市医药高新技术产业开发区滨江工业园区滨一路东侧一号、二号1幢1062
专利分类项目
专利注册信息
初审公告期号 2020-03-02 初审公告日期 2021-04-20
注册公告期号 2021-04-20 注册公告日期 2021-04-20
专用权期限 2021-04-20 - 2031-04-18 专利类型 发明授权
代理组织机构 --
专利介绍
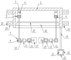
本发明公开了一种平面门窗清洗设备,包括基座,所述基座的顶面上固设有机体,所述机体的顶面上设有顶箱,所述顶箱的右侧部分为圆台设计,所述顶箱的右侧面上开设有传动腔,所述传动腔的前后壁上均开设有滑行腔,两个所述滑行腔之间滑动设有清洁擦,所述清洁擦的右侧面为布料设计,本发明可通过清洁擦的上下滑动,与喷头的喷水,进而使门窗可以进行初次清洗,上门窗上的灰尘和被清洗冲掉,然后控制转动刷和清洁擦互换位置,可以进行二次擦拭,使门窗相比于第一次清洗更加干净,大大提高了清洁效果,且本发明结构简单,操作方便,便于推广。
法律进度
  • 2022-12-30 专利权的转移 登记生效日: 2022.12.16 专利权人由泰州左岸信息科技有限公司变更为山东格式医疗器械有限公司 地址由2 ...

  • 2021-04-20 授权 ...

  • 2021-04-13 专利申请权的转移 登记生效日: 2021.04.01 申请人由福州市仓山区伟超日用品有限公司变更为泰州左岸信息科技有限公司 地址 ...

  • 2020-06-09 实质审查的生效 IPC(主分类): A47L 1/02 专利申请号: 202010135023.9 申请日: 2020.03. ...

  • 2020-05-08 公开 ...

同类专利

咨询该专利

您还可以
推荐专利
{{ v.name }}
取 消 确 定