• 专利申请
    2014-10-27
  • 公布公告
    2017-06-06
  • 授权日期
    2017-06-06
  • 终止
    2027-06-04
自动切割式采茶机割台自动调平方法和装置
自动切割式采茶机割台自动调平方法和装置
* 专利信息仅供参考,不具有法律效力。 有效专利
CN201410582767.X 2014-10-27 A01D46/04 {{ classMap["A01D46/04"] }}
浙江工业大学 查看申请人名下所有专利
浙江省杭州市下城区潮王路18号
专利分类项目
专利注册信息
初审公告期号 2014-10-27 初审公告日期 2017-06-06
注册公告期号 2017-06-06 注册公告日期 2017-06-06
专用权期限 2017-06-06 - 2027-06-04 专利类型 发明授权
代理组织机构 杭州天勤知识产权代理有限公司 查看该机构代理的所有专利
专利介绍
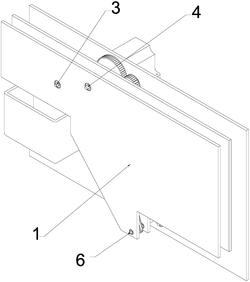
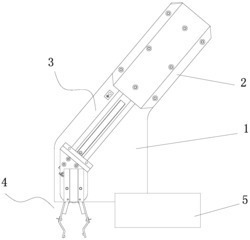
本发明公开了一种自动切割式采茶机割台自动调平装置,用于提高茶叶新梢采摘的完整性和一致性,提高茶叶整体质量及采摘效率,通过同步控制割台的两支撑杆的位移来保证固定割刀的割台离地面高度一致,通过倾斜传感器感知割台的倾斜状态调整割台的两支撑杆的位移差来使得割刀的形状基本上与茶树树冠的形状相吻合;使得自动切割式采茶机能够很好地在丘陵地带茶园中推广应用。本发明还公开了自动切割式采茶机割台自动调平方法。
法律进度
  • 2017-06-06 授权 ...

  • 2015-05-20 实质审查的生效 IPC(主分类): A01D 46/04 专利申请号: 201410582767.X 申请日: 2014. ...

  • 2015-04-22 公开 ...

同类专利

咨询该专利

您还可以
推荐专利
{{ v.name }}
取 消 确 定