• 专利申请
    2021-03-26
  • 公布公告
    2021-06-29
  • 授权日期
    2022-04-15
  • 终止
    2031-06-27
一种胆管癌细胞增殖观察设备
一种胆管癌细胞增殖观察设备
* 专利信息仅供参考,不具有法律效力。 有效专利
CN202110325302.6 2021-03-26 G01N21/84 {{ classMap["G01N21/84"] }}
湖南师范大学 查看申请人名下所有专利
湖南省长沙市岳麓区麓山路36号
专利分类项目
专利注册信息
初审公告期号 2021-03-26 初审公告日期 2021-06-29
注册公告期号 2022-04-15 注册公告日期 2022-04-15
专用权期限 2021-06-29 - 2031-06-27 专利类型 发明公开
代理组织机构 苏州拓云知识产权代理事务所 查看该机构代理的所有专利
专利介绍
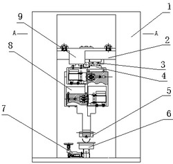
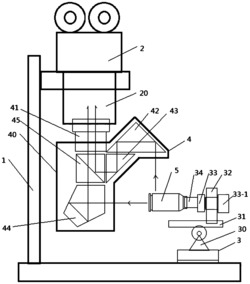
本发明公开了一种胆管癌细胞增殖观察设备,包括升降滑块、自转动组件、观察镜以及培养皿排布组件,其中,所述升降滑块上设置有所述自转动组件,所述自转动组件的输出端能够绕其转动竖轴线进行转动,且所述自转动组件的输出端设置有观察镜;所述观察镜的下方设置有至少两组培养皿排布组件,两组所述培养皿排布组件分布在同一圆周上,且该圆周的圆心位于自转动组件的转动竖轴线上;所述培养皿排布组件至少包括位置调整组件,所述位置调整组件能够夹持培养皿或驱动培养皿进行自旋转运动;所述观察镜至少包括物镜,当所述位置调整组件位于所述物镜的下方时,所述物镜的观测中心所在的竖直线与所述培养皿自旋转运动的竖轴线错位设置。
法律进度
  • 2023-01-13 专利实施许可合同备案的生效 IPC(主分类): G01N 21/84 合同备案号: X2022980028939 专利申请号: 20211 ...

  • 2022-04-15 授权 ...

  • 2021-07-16 实质审查的生效 IPC(主分类): G01N 21/84 专利申请号: 202110325302.6 申请日: 2021.03 ...

  • 2021-06-29 公开 ...

同类专利

咨询该专利

您还可以
推荐专利
{{ v.name }}
取 消 确 定