• 专利申请
    2018-10-31
  • 公布公告
    2021-07-30
  • 授权日期
    2021-07-30
  • 终止
    2031-07-28
一种人工荔枝采摘器
一种人工荔枝采摘器
* 专利信息仅供参考,不具有法律效力。 有效专利
CN201811287627.4 2018-10-31 A01D46/00 {{ classMap["A01D46/00"] }}
南宁学院 查看申请人名下所有专利
广西壮族自治区南宁市邕宁区龙亭路8号
专利分类项目
专利注册信息
初审公告期号 2018-10-31 初审公告日期 2021-07-30
注册公告期号 2021-07-30 注册公告日期 2021-07-30
专用权期限 2021-07-30 - 2031-07-28 专利类型 发明授权
代理组织机构 贵州派腾知识产权代理有限公司 查看该机构代理的所有专利
专利介绍
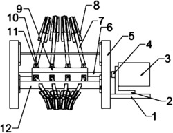
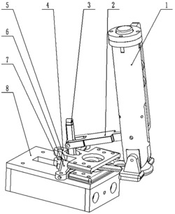
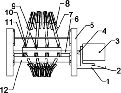
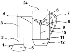
本发明公开了一种人工荔枝采摘器,包括手柄、伸缩杆A、伸缩杆B、剪断机构、夹持机构、收集机构,所述手柄一端与伸缩杆A连接,所述伸缩杆B套装在伸缩杆A内,并通过锁紧螺钉与伸缩杆A连接,所述夹持机构和剪断机构均安装在伸缩杆B一端,且剪断机构通过收集机构与夹持机构连接。本发明通过棘轮将荔枝枝干间歇地送进夹持机构,并且棘轮具有单向性,使得荔枝可以不断送进夹持机构,并且具有导向功能,可以快速的剪断荔枝枝干,并且本装置可以实现单串荔枝夹持切断、多串荔枝的保持夹持功能,保证荔枝采摘的连续性,防止荔枝掉落损坏,劳动效率高,还可以更加不同适应需求调整长短,采摘范围广。
法律进度
  • 2024-05-28 专利权的转移 登记生效日: 2024.05.11 专利权人由南宁学院变更为合肥龙智机电科技有限公司 国家或地区由中国变更为中 ...

  • 2023-01-17 专利实施许可合同备案的生效 IPC(主分类): A01D 46/00 合同备案号: X2022450000609 专利申请号: 20181 ...

  • 2021-07-30 授权 ...

  • 2019-02-12 实质审查的生效 IPC(主分类): A01D 46/00 专利申请号: 201811287627.4 申请日: 2018. ...

  • 2019-01-15 公开 ...

同类专利

咨询该专利

您还可以
推荐专利
{{ v.name }}
取 消 确 定