• 专利申请
    2019-05-05
  • 公布公告
    2021-05-14
  • 授权日期
    2021-05-14
  • 终止
    2031-05-12
一种自动滑动式助力起身装置
一种自动滑动式助力起身装置
* 专利信息仅供参考,不具有法律效力。 有效专利
CN201910366977.8 2019-05-05 A61H3/00 {{ classMap["A61H3/00"] }}
沈阳航空航天大学 查看申请人名下所有专利
辽宁省沈阳市道义经济开发区道义南大街37号
专利分类项目
专利注册信息
初审公告期号 2019-05-05 初审公告日期 2021-05-14
注册公告期号 2021-05-14 注册公告日期 2021-05-14
专用权期限 2021-05-14 - 2031-05-12 专利类型 发明授权
代理组织机构 沈阳东大知识产权代理有限公司 查看该机构代理的所有专利
专利介绍
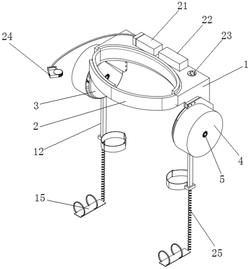
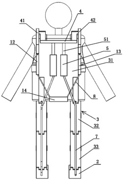
本发明公开了一种自动滑动式助力起身装置,包括滑动底座、连接座、菱形伸缩架、承载托座、传动皮带和压力传感器,其特征在于:所述滑动底座后壁左端固定安装驱动电机,驱动电机输出端贯穿滑动底座后壁后固定安装主动轮,滑动底座内部固定安装有均匀分布的定轴,定轴转动安装有辅助轮;利用最上面设有压力传感器的承载托座,使用者通过对承载托座的施压,使压力传感器感受到压力,压力转换为电流大小,电流传给控制伸缩支架的调节电机和控制传动皮带的驱动电机,通过得到的可控电流来控制调节电机与驱动电机的转速,这样可使承载托座保持水平,该装置是精确配置的,以便与操作者的移动速度完全相同,让使用者感到平稳。
法律进度
  • 2024-08-02 专利权的转移 登记生效日: 2024.07.18 专利权人由沈阳航空航天大学变更为合肥智慧龙机械设计有限公司 国家或地区由中 ...

  • 2021-05-14 授权 ...

  • 2019-09-03 实质审查的生效 IPC(主分类): A61H 3/00 专利申请号: 201910366977.8 申请日: 2019.05. ...

  • 2019-08-09 公开 ...

同类专利

咨询该专利

您还可以
推荐专利
{{ v.name }}
取 消 确 定