• 专利申请
    2018-10-17
  • 公布公告
    2020-10-30
  • 授权日期
    2020-10-30
  • 终止
    2030-10-28
一种篮球拾取及发球装置
一种篮球拾取及发球装置
* 专利信息仅供参考,不具有法律效力。 有效专利
CN201811206697.2 2018-10-17 A63B47/02 {{ classMap["A63B47/02"] }}
雷磊 查看申请人名下所有专利
江苏省泰州市高港区大泗镇泗白路27号
专利分类项目
专利注册信息
初审公告期号 2018-10-17 初审公告日期 2020-10-30
注册公告期号 2020-10-30 注册公告日期 2020-10-30
专用权期限 2020-10-30 - 2030-10-28 专利类型 发明授权
代理组织机构 --
专利介绍
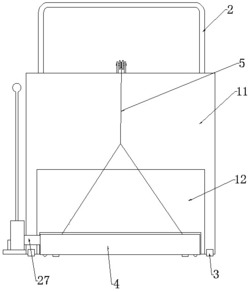
本发明公开了一种篮球拾取及发球装置,包括拾取车,所述拾取车上设有控制箱、存放箱、发球箱,所述拾取车底部设有车轮,所述车轮的轴与驱动马达传动连接,所述驱动马达与控制箱内的控制器电信连接,所述控制箱内的控制器与电源电信连接,所述控制器与控制箱顶部的检测雷达电信连接,所述存放箱顶部设有拾取电机,所述拾取电机与控制器电信连接,所述拾取电机的轴与螺杆焊接,所述螺杆与支架中心的螺纹孔螺接,所述支架底部两端焊接有立柱,所述立柱与斜杆通过转轴转动连接,所述斜杆底端与栓轴转动连接,所述栓轴置于栓环中,所述栓环焊接在揽臂左端,省去捡球的时间,同时也节省体力,无须助练即可单人练习。
法律进度
  • 2020-10-30 授权 ...

  • 2020-10-27 专利申请权的转移 登记生效日: 2020.09.30 申请人由杭州厚谋创意设计有限公司变更为雷磊 地址由310018 浙江省杭州 ...

  • 2019-04-05 实质审查的生效 IPC(主分类): A63B 47/02 专利申请号: 201811206697.2 申请日: 2018. ...

同类专利

咨询该专利

您还可以
推荐专利
{{ v.name }}
取 消 确 定