• 专利申请
    2015-01-06
  • 公布公告
    2015-04-29
  • 授权日期
    2018-03-16
  • 终止
    2025-04-26
基于主动式全景视觉的隧道全断面高速动态健康检测装置与方法
基于主动式全景视觉的隧道全断面高速动态健康检测装置与方法
* 专利信息仅供参考,不具有法律效力。 有效专利
CN201510005918.X 2015-01-06 G01B11/16 {{ classMap["G01B11/16"] }}
浙江工业大学 查看申请人名下所有专利
浙江省杭州市下城区潮王路18号
专利分类项目
专利注册信息
初审公告期号 2015-01-06 初审公告日期 2015-04-29
注册公告期号 2018-03-16 注册公告日期 2018-03-16
专用权期限 2015-04-29 - 2025-04-26 专利类型 发明公开
代理组织机构 杭州天勤知识产权代理有限公司 查看该机构代理的所有专利
专利介绍
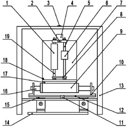
本发明公开了一种基于主动式全景视觉的隧道全断面高速动态健康检测装置,其硬件包括:隧道检测车、主动式全景视觉传感器、RFID读取器和处理器;系统软件包括:全方位面激光信息解析及点云数据获取单元、隧道中轴线提取单元、降噪及平差处理单元、三维建模及变形分析单元、全隧道各节横断面基准数据库、全隧道纵断面拼接单元、位移监测和沉降监测单元、全隧道健康体检结果数据库和隧道纵断面变移量三维可视化单元;通过对隧道内壁激光扫描断面切片图像进行机器视觉处理分析和识别隧道的横向和纵向形变。本发明还提供了一种基于主动式全景视觉的隧道全断面高速动态健康检测方法,为地铁和高铁的隧道日常维护提供了有效的技术支撑。
法律进度
  • 2018-03-16 授权 ...

  • 2015-05-27 实质审查的生效 IPC(主分类): G01B 11/16 专利申请号: 201510005918.X 申请日: 2015. ...

  • 2015-04-29 公布 公布 ...

同类专利
  • 高低温箱内被测件变形量的高精度测量系统

  • 沉管隧道变形监测及受力分析系统及其使用方法和用途

  • 纤维集成干涉仪串联结构三维空间分布式形变传感器

  • 一种基于机器视觉的喷油嘴微孔孔形智能检测系统和方法

  • 一种基于激光测距的变形自动监测系统

  • 适用于监测钢筋周围混凝土锈裂应变场的光纤光栅传感器

  • 一种基于邻近算法的布里渊频移提取方法

  • 模拟太空骤变温场环境的形变测量装置

  • 基于深度图像的煤矿巷道围岩变形破坏监测装置及方法

  • 基于光学显微的一点应变测量方法

  • 用于六角钢材变形分析的可视化处理系统

  • 基于电荷检测的绝缘子变形分析系统

咨询该专利

您还可以
推荐专利
{{ v.name }}
取 消 确 定