• 专利申请
    2023-04-12
  • 公布公告
    2023-12-19
  • 授权日期
    2023-12-19
  • 终止
    2033-12-16
一种焊锡机传送装置
一种焊锡机传送装置
* 专利信息仅供参考,不具有法律效力。 有效专利
CN202320799127.9 2023-04-12 B23K3/00 {{ classMap["B23K3/00"] }}
苏州科磁达电子科技有限公司 查看申请人名下所有专利
江苏省苏州市相城区元和街道众泾村
专利分类项目
专利注册信息
初审公告期号 2023-04-12 初审公告日期 2023-12-19
注册公告期号 2023-12-19 注册公告日期 2023-12-19
专用权期限 2023-12-19 - 2033-12-16 专利类型 实用新型
代理组织机构 南京新诚汇知识产权代理事务所 查看该机构代理的所有专利
专利介绍
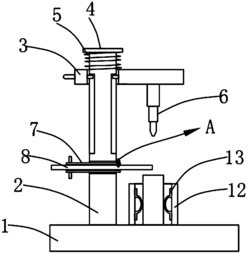
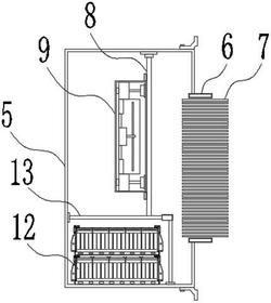
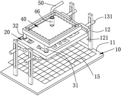
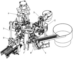
本实用新型公开了一种焊锡机传送装置,涉及焊锡机技术领域,而本实用新型包括运输机,运输机的上表面滑动安装有防护板,防护板相互靠近的侧面和工件的两侧活动接触,且防护板的下表面和运输机内运输带的上表面滑动接触,本实用新型中通过防护板对工件进行防护,避免工件出现脱落的现象,且通过转杆、第一锥齿轮、锥齿杆、第二锥齿轮、螺丝杆和移动条之间的配合带动防护板移动,方便防护板对不同尺寸的工件进行限位,本实用新型中通过第一气缸、第二气缸和动力机带动焊锡头上下移动、前后移动和左右移动,对焊锡头的位置进行调节,方便焊锡头对工件的各个位置进行焊锡。
法律进度
  • 2023-12-19 授权 ...

同类专利
  • 一种节能无损拆卸线路板上电子器件的拆卸机构

  • 一种集成电路板电子元件自动焊接设备

  • 一种电触头系统超声波辅助高频感应钎焊装置

  • 一种二极管生产焊接设备

  • 一种用于DIP封装电路的管脚通孔插装焊接设备

  • 一种载带生产用回流焊炉

  • 一种二次压合钎焊电子浆料用陶瓷基板处理装置

  • 一种废弃电路板脱焊设备的自动上料夹具及方法

咨询该专利

您还可以
推荐专利
{{ v.name }}
取 消 确 定