• 专利申请
    2023-07-27
  • 公布公告
    2024-03-26
  • 授权日期
    2024-03-26
  • 终止
    2034-03-24
一种激光熔覆高熵合金粉末预置装置及方法
一种激光熔覆高熵合金粉末预置装置及方法
* 专利信息仅供参考,不具有法律效力。 有效专利
CN202310926690.2 2023-07-27 C23C24/10 {{ classMap["C23C24/10"] }}
齐鲁工业大学(山东省科学院) 查看申请人名下所有专利
山东省济南市长清区大学路3501号
专利分类项目
专利注册信息
初审公告期号 2023-07-27 初审公告日期 2024-03-26
注册公告期号 2024-03-26 注册公告日期 2024-03-26
专用权期限 2024-03-26 - 2034-03-24 专利类型 发明授权
代理组织机构 济南法友专利代理事务所 查看该机构代理的所有专利
专利介绍
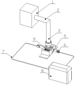
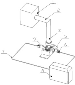
本发明公开了一种激光熔覆高熵合金粉末预置装置及方法,属于高熵合金涂层领域,一种激光熔覆高熵合金粉末预置装置,安装板的下表面滑动连接有用于盛放合金粉末的箱体,压料辊位于箱体与刮板之间,刮板与基材之间的距离小于压料辊与基材之间的距离,一种激光熔覆高熵合金粉末预置装置的预置方法,包括,处理基材、调整预置涂层厚度、预置涂层以及回收合金粉末。本发明箱体在移动时带动压料辊在基材的上部滚动,压料辊能够在基材上部的合金粉末上滚动,使得合金粉末被压实,而椭圆板的设置则使得合金粉末不会大量的从基材的两侧掉落导致合金粉末的预置层厚度不均匀,刮板将压料辊压实后的预置层进行刮薄,使得预置层处于合适的厚度。
法律进度
  • 2024-08-20 专利权的转移 登记生效日: 2024.08.02 专利权人由齐鲁工业大学(山东省科学院)变更为合肥净龙环保科技有限公司 国家 ...

  • 2024-03-26 授权 ...

  • 2023-11-10 实质审查的生效 IPC(主分类): C23C 24/10 专利申请号: 202310926690.2 申请日: 2023.07 ...

  • 2023-10-24 公开 ...

同类专利
  • 激光熔覆用高熵合金粉末和高熵合金涂层的制备方法

  • 一种具有自生纳米颗粒增强的钛合金激光强化涂层

  • 一种在铝或铝合金表面激光熔覆稀土CeO2-Ni60合金复合涂层的工艺

  • 一种超音速激光沉积低应力涂层的方法

  • 一种金属基/金刚石激光复合涂层及其制备方法

  • 一种铝合金表面激光熔覆稀土氧化钇+铝+铁基合金复合涂层的工艺

  • 一种电-磁复合场协同激光熔覆的方法及装置

  • 一种铝合金结构件的激光增材制造方法

  • 一种电-磁复合场协同激光熔覆装置

  • 一种强化球阀阀座的制备方法

  • 一种利用激光熔覆增强Hastelloy N合金表面耐磨性的方法

  • 一种带双侧整流气的叠片式宽带送粉喷嘴

咨询该专利

您还可以
推荐专利
{{ v.name }}
取 消 确 定