• 专利申请
    2023-05-31
  • 公布公告
    2023-06-27
  • 授权日期
    2023-07-25
  • 终止
    2033-06-24
一种油菜联合直播机种床整备装置及其整备方法
一种油菜联合直播机种床整备装置及其整备方法
* 专利信息仅供参考,不具有法律效力。 有效专利
CN202310633687.1 2023-05-31 A01B49/02 {{ classMap["A01B49/02"] }}
安徽农业大学 查看申请人名下所有专利
安徽省合肥市蜀山区长江西路130号
专利分类项目
专利注册信息
初审公告期号 2023-05-31 初审公告日期 2023-06-27
注册公告期号 2023-07-25 注册公告日期 2023-07-25
专用权期限 2023-06-27 - 2033-06-24 专利类型 发明公开
代理组织机构 合肥中腾知识产权代理事务所 查看该机构代理的所有专利
专利介绍
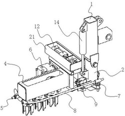
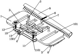
本发明公开了一种油菜联合直播机种床整备装置及其整备方法,涉及种床整备技术领域,包括U型桁架,U型桁架的下方设有一对旋耕轴,旋耕轴上套设有若干旋耕犁;U型桁架的下方设有一对U型支架,一对U型支架之间设有一对粉碎轴,粉碎轴上套设有若干粉碎绞刀;U型支架的开口内底壁中部固设有L型支架,一对L型支架之间设有破碎轴,破碎轴上套设有若干破碎绞刀,若干破碎绞刀与若干粉碎绞刀呈交错分布;U型桁架的背面设有一对第二摆臂,一对第二摆臂的底端部之间设有压平辊筒。本发明采用了双重旋耕、反复破碎、覆平土壤的方式联合作业,满足保护性耕作的技术要求,具有高效、低耗的优点。
法律进度
  • 2023-07-25 授权 ...

  • 2023-07-14 实质审查的生效 IPC(主分类): A01B 49/02 专利申请号: 202310633687.1 申请日: 2023.05 ...

  • 2023-06-27 公开 ...

同类专利

咨询该专利

您还可以
推荐专利
{{ v.name }}
取 消 确 定