• 专利申请
    2020-07-20
  • 公布公告
    2021-04-20
  • 授权日期
    2021-04-20
  • 终止
    2031-04-18
一种一体化植物粉碎超声波提取器
一种一体化植物粉碎超声波提取器
* 专利信息仅供参考,不具有法律效力。 有效专利
CN202021424804.1 2020-07-20 B01D11/02 {{ classMap["B01D11/02"] }}
南京科技职业学院 查看申请人名下所有专利
江苏省南京市六合区化学工业园区欣乐路188号
专利分类项目
专利注册信息
初审公告期号 2020-07-20 初审公告日期 2021-04-20
注册公告期号 2021-04-20 注册公告日期 2021-04-20
专用权期限 2021-04-20 - 2031-04-18 专利类型 实用新型
代理组织机构 南京行高知识产权代理有限公司 查看该机构代理的所有专利
专利介绍
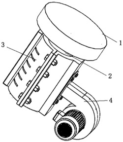
本实用新型公开了一种一体化植物粉碎超声波提取器,包括圆形箱体,所述圆形箱体上设有粉碎结构,所述圆形箱体下方设有超声波提取结构;所述粉碎结构包括:矩形框架、一对第一伺服电机、第二伺服电机以及粉碎刀片;所述圆形箱体上壁面开设有矩形通孔,所述矩形框架安装于圆形箱体上壁面,且与矩形通孔位置相对应,本实用新型涉及植物粉碎技术领域。粉碎结构,便于对植物进行破碎,并且可以达到精破碎和粗破碎两种破碎方式,操作方便,破碎效率高。超声波提取结构,通过使用超声处理器超声处理,便于植物分离出清液(植物提取液),并且能够进行过滤,提高植物提取液质量。
法律进度
  • 2021-04-20 授权 ...

同类专利

咨询该专利

您还可以
推荐专利
{{ v.name }}
取 消 确 定