• 专利申请
    2020-06-12
  • 公布公告
    2020-11-13
  • 授权日期
    2021-10-29
  • 终止
    2030-11-11
一种亚硝酸盐清除添加剂生产线及其制备方法
一种亚硝酸盐清除添加剂生产线及其制备方法
* 专利信息仅供参考,不具有法律效力。 有效专利
CN202010536329.5 2020-06-12 B01D11/02 {{ classMap["B01D11/02"] }}
漳州职业技术学院 查看申请人名下所有专利
福建省漳州市芗城区大学路2号
专利分类项目
专利注册信息
初审公告期号 2020-06-12 初审公告日期 2020-11-13
注册公告期号 2021-10-29 注册公告日期 2021-10-29
专用权期限 2020-11-13 - 2030-11-11 专利类型 发明公开
代理组织机构 泉州市潭思专利代理事务所 查看该机构代理的所有专利
专利介绍
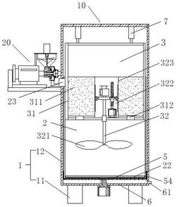
本发明公开了一种亚硝酸盐清除添加剂生产线,属于化学领域,从前到后依次包括清洗装置、干燥装置、粉碎装置、提取装置、络合反应釜和沉淀过滤装置,络合反应釜包括反应釜壳体、反应釜搅拌组件和超声波发生器,反应釜壳体整体呈类圆柱体,上下面为外凸的弧形面,其顶面形成有反应釜入料口,底面中间位置形成了反应釜出料口,反应釜搅拌组件安装在反应釜壳体顶面上且与反应釜壳体中心轴同轴,超声波发生器安装在所述反应釜壳体圆周侧面上。本发明的有益效果是:在络合反应釜中增加超声波对溶液进行加热混合,有效提高了原花青素与铝离子在溶剂中的运动活性,增加了葡萄籽原花青素与铝离子的接触机会,从而提高了反应效率和络合物的稳定性。
法律进度
  • 2021-10-29 授权 ...

  • 2020-12-04 实质审查的生效 IPC(主分类): B01D 11/02 专利申请号: 202010536329.5 申请日: 2020.06 ...

  • 2020-11-13 公开 ...

同类专利

咨询该专利

您还可以
推荐专利
{{ v.name }}
取 消 确 定