• 专利申请
    2020-04-29
  • 公布公告
    2021-10-29
  • 授权日期
    2021-10-29
  • 终止
    2031-10-27
一种黄瓜多酚提取装置及黄瓜多酚镁络合物的制备方法
一种黄瓜多酚提取装置及黄瓜多酚镁络合物的制备方法
* 专利信息仅供参考,不具有法律效力。 有效专利
CN202010353381.7 2020-04-29 B01D11/02 {{ classMap["B01D11/02"] }}
漳州职业技术学院 查看申请人名下所有专利
福建省漳州市芗城区大学路2号
专利分类项目
专利注册信息
初审公告期号 2020-04-29 初审公告日期 2021-10-29
注册公告期号 2021-10-29 注册公告日期 2021-10-29
专用权期限 2021-10-29 - 2031-10-27 专利类型 发明授权
代理组织机构 泉州市潭思专利代理事务所 查看该机构代理的所有专利
专利介绍
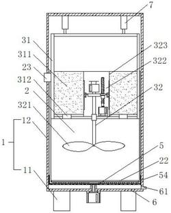
本发明公开了一种黄瓜多酚提取装置及黄瓜多酚镁络合物的制备方法,属于化学领域,包括机架、设置在在所述机架上的圆柱体容器、设置在所述圆柱体容器内部并可沿所述圆柱体容器轴线方向运动的活塞组件,所述圆柱体容器底部均匀分布有若干第一通孔,所述第一通孔上附着有一层过滤布,所述活塞组件底部安装有搅拌件,所述搅拌件位于所述圆柱体容器内部。本发明的有益效果是:通过活塞组件的上下运动,控制圆柱体容器体积的变化实现圆柱体容器内压强的骤升和骤减,在压强骤升和骤减的过程中黄瓜细胞内壁受压快速膨胀或压缩而破裂,释放内部多酚,从而达到得到多酚提取液的目的,提取率可达0.96‰以上。
法律进度
  • 2021-10-29 授权 ...

  • 2020-12-04 实质审查的生效 IPC(主分类): B01D 11/02 专利申请号: 202010353381.7 申请日: 2020.04 ...

  • 2020-09-25 公开 ...

同类专利

咨询该专利

您还可以
推荐专利
{{ v.name }}
取 消 确 定