• 专利申请
    2020-01-13
  • 公布公告
    2021-01-26
  • 授权日期
    2021-01-26
  • 终止
    2031-01-24
一种自动化胶条安装装置
一种自动化胶条安装装置
* 专利信息仅供参考,不具有法律效力。 有效专利
CN202020057453.9 2020-01-13 B23P19/00 {{ classMap["B23P19/00"] }}
苏州崮麓智能设备有限公司 查看申请人名下所有专利
江苏省苏州市虎丘区高新区锦峰路8号1号楼216室
专利分类项目
专利注册信息
初审公告期号 2020-01-13 初审公告日期 2021-01-26
注册公告期号 2021-01-26 注册公告日期 2021-01-26
专用权期限 2021-01-26 - 2031-01-24 专利类型 实用新型
代理组织机构 南京禾易知识产权代理有限公司 查看该机构代理的所有专利
专利介绍
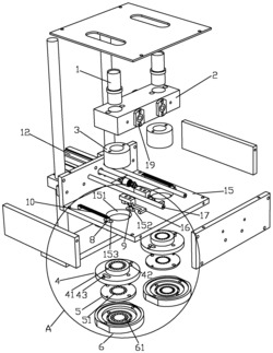
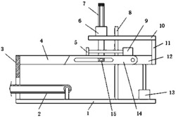
本实用新型公开了一种自动化胶条安装装置,涉及胶条安装用辅助装置技术领域,为解决人工装配会消耗大量劳动力和装配不够整齐而导致成品不够精美的问题。所述支撑底座一侧的上方设置有从动辊,且从动辊与支撑底座通过从动辊固定柱转动连接,且从动辊固定柱设置有两个,所述支撑底座上方的另一侧设置有主动辊,且主动辊与支撑底座通过主动辊固定柱转动连接,所述主动辊和从动辊的外部设置有传送皮带,所述传送皮带的两侧均设置有电池盒防掉块,且电池盒防掉块与支撑底座固定连接,所述电池盒防掉块的一侧设置有声光报警器,且声光报警器与支撑底座固定连接,所述电池盒防掉块的一端设置有胶条放置槽。
法律进度
  • 2021-01-26 授权 ...

同类专利

咨询该专利

您还可以
推荐专利
{{ v.name }}
取 消 确 定