• 专利申请
    2019-11-25
  • 公布公告
    2020-06-02
  • 授权日期
    2021-06-25
  • 终止
    2030-05-31
一种桩基成孔形状及垂直度检测装置及其检测方法
一种桩基成孔形状及垂直度检测装置及其检测方法
* 专利信息仅供参考,不具有法律效力。 有效专利
CN201911163877.1 2019-11-25 G01B11/24 {{ classMap["G01B11/24"] }}
张卫锋 查看申请人名下所有专利
江苏省南通市崇川区北郭北村15幢204室
专利分类项目
专利注册信息
初审公告期号 2019-11-25 初审公告日期 2020-06-02
注册公告期号 2021-06-25 注册公告日期 2021-06-25
专用权期限 2020-06-02 - 2030-05-31 专利类型 发明公开
代理组织机构 南通毅帆知识产权代理事务所 查看该机构代理的所有专利
专利介绍
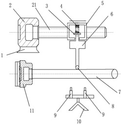
本发明公开了一种桩基成孔形状及垂直度检测装置,包括导向架结构、吊杆机构、探测器、终端处理显示器,导向架结构设置在钻孔的上方,吊杆机构通过导向架结构固定,探测器安装在吊杆机构的底部,吊杆机构的顶部与底部分别安装有激光接收器和激光发射器;吊杆机构通过圆管组装而成,且圆管上设有防水结构;探测器包括安装柱,第一防水电伸缩杆的活塞杆的外端固定安装有测距传感器;测距传感器、第一防水电伸缩杆、激光接收器和激光发射器均通过线缆与终端处理显示器电性连接;本方案,终端处理显示器根据吊入深度及几个方向的径向距离变化拟合出桩孔的三维空间形状,并自动计算出桩基垂直度,测量精度高。
法律进度
  • 2024-06-28 专利权的转移 登记生效日: 2024.06.12 专利权人由钱野变更为深圳市宝利检测有限公司 国家或地区由中国变更为中国 地 ...

  • 2021-06-25 授权 ...

  • 2021-06-08 专利申请权的转移 登记生效日: 2021.05.26 申请人由张卫锋变更为钱野 地址由226001 江苏省南通市崇川区北郭北村1 ...

  • 2020-06-26 实质审查的生效 IPC(主分类): G01B 11/24 专利申请号: 201911163877.1 申请日: 2019.11 ...

  • 2020-06-02 公开 ...

同类专利
  • 用于快速获取文胸模杯三维图像的扫描装置

  • 用于数字图像相关测试的环境光强自适应调节方法

  • 一种白光干涉式纤维集成万向弯曲传感器

  • 数字全息三维重建方法

  • 一种平面弯曲钣金件截面弯曲轮廓检测装置及方法

  • 基于CCD图像处理的弯管挠度激光检测方法

  • 弯管截面椭圆度自动测量装置

  • 基于DIC的轴零件尺寸测量装置

  • 图像深度的计算方法、图像处理装置及三维测量系统

  • 一种微造型表面摩擦磨损形貌的表征方法

  • 基于空间相干结构调控的光学成像系统及成像方法

  • 高分辨率结构光全向光场视觉系统组合结构

咨询该专利

您还可以
推荐专利
{{ v.name }}
取 消 确 定