• 专利申请
    2018-12-11
  • 公布公告
    2021-06-04
  • 授权日期
    2021-06-04
  • 终止
    2031-06-02
一种园林植物枝叶修剪装置
一种园林植物枝叶修剪装置
* 专利信息仅供参考,不具有法律效力。 有效专利
CN201811514323.7 2018-12-11 A01G3/04 {{ classMap["A01G3/04"] }}
大连识汇岛科技服务有限公司 查看申请人名下所有专利
辽宁省大连市沙河口区星海广场A区13号3层2号
专利分类项目
专利注册信息
初审公告期号 2018-12-11 初审公告日期 2021-06-04
注册公告期号 2021-06-04 注册公告日期 2021-06-04
专用权期限 2021-06-04 - 2031-06-02 专利类型 发明授权
代理组织机构 --
专利介绍
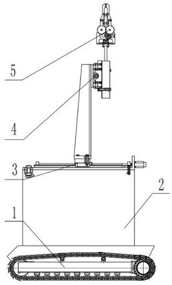
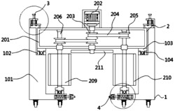
本发明公开了一种园林植物枝叶修剪装置,属于修剪装置技术领域;一种园林植物枝叶修剪装置,包括安装座,安装座的底部沿水平方向依次连接有驱动半轮齿齿轮和固定杆,固定杆的外壁沿竖直方向依次转动连接有从动齿轮和连接块,且从动齿轮和连接块之间通过连杆固定连接,固定杆远离安装座的一端与连接块之间连接有复位弹簧,第一液压伸缩机构远离连接块的一端通过固定盘连接有摆动调节机构,摆动调节机构上连接有竖直设置的枝叶收集罩,枝叶收集罩内连接有修剪机构;本发明,能够适用不同曲率半径的园林植物的修剪,增加修剪的美观性,能够对修剪的枝叶进行粉碎再利用,实现对园林植物的施肥功能,同时修剪的稳定性能优良,剪切效果好。
法律进度
  • 2021-06-04 授权 ...

  • 2019-05-03 实质审查的生效 IPC(主分类): A01G 3/04 专利申请号: 201811514323.7 申请日: 2018.1 ...

  • 2019-04-09 公开 ...

同类专利

咨询该专利

您还可以
推荐专利
{{ v.name }}
取 消 确 定