• 专利申请
    2017-12-18
  • 公布公告
    2018-06-22
  • 授权日期
    2019-08-27
  • 终止
    2028-06-19
一种用于智能叉车的自适应搬运装置
一种用于智能叉车的自适应搬运装置
* 专利信息仅供参考,不具有法律效力。 有效专利
CN201711367458.0 2017-12-18 B66F9/075 {{ classMap["B66F9/075"] }}
南京信息职业技术学院 查看申请人名下所有专利
江苏省南京市栖霞区仙林大学城文澜路99号
专利分类项目
专利注册信息
初审公告期号 2017-12-18 初审公告日期 2018-06-22
注册公告期号 2019-08-27 注册公告日期 2019-08-27
专用权期限 2018-06-22 - 2028-06-19 专利类型 发明公开
代理组织机构 南京天翼专利代理有限责任公司 查看该机构代理的所有专利
专利介绍
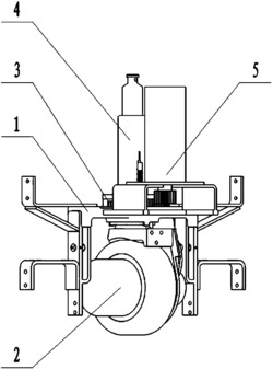
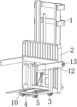
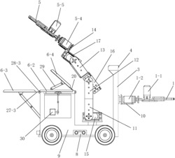
一种用于智能叉车的自适应搬运装置,所述搬运装置安装于智能叉车车体的一端,包括平移机构、升降机构、随动锁紧机构、视觉模块以及控制驱动模块。在智能叉车引导下,控制驱动模块利用视觉模块获取被搬运工件的位置和大小信息,自动调控平移机构和升降机构搬取工件,由随动锁紧机构保证搬运过程中升降机构平稳工作,最终将工件自动运至设定位置。本发明能自动调整装置的升降高度和叉指的工作宽度,自动化程度高,承载能力大,工作平稳,能适应智能叉车搬取不同工件的作业需求。
法律进度
  • 2019-08-27 授权 ...

  • 2018-07-17 实质审查的生效 IPC(主分类): B66F 9/075 专利申请号: 201711367458.0 申请日: 2017. ...

  • 2018-06-22 公开 ...

同类专利

咨询该专利

您还可以
推荐专利
{{ v.name }}
取 消 确 定