• 专利申请
    2016-07-06
  • 公布公告
    2019-11-05
  • 授权日期
    2019-11-05
  • 终止
    2029-11-02
一种基于边长残差加权的定位方法
一种基于边长残差加权的定位方法
* 专利信息仅供参考,不具有法律效力。 有效专利
CN201610541937.9 2016-07-06 H04W64/00 {{ classMap["H04W64/00"] }}
浙江工业大学 查看申请人名下所有专利
浙江省杭州市下城区朝晖六区潮王路18号
专利分类项目
专利注册信息
初审公告期号 2016-07-06 初审公告日期 2019-11-05
注册公告期号 2019-11-05 注册公告日期 2019-11-05
专用权期限 2019-11-05 - 2029-11-02 专利类型 发明授权
代理组织机构 杭州斯可睿专利事务所有限公司 查看该机构代理的所有专利
专利介绍
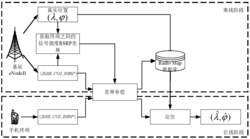
一种基于边长残差加权的定位方法,包括以下步骤:1)由多个基站接收到移动台MS发送的信号;2)将所有的基站进行分组,每组包含有M个基站;3)对于每个分组,定位主基站提取分组内的BS坐标、测距信息以及测角信息,测距信息等效于TOA,测角信息等效于AOA,并根据余弦定理求得两个虚边长,最后计算测距与虚边长之间的差值,得到每一个分组的边长残差;4)对所有的基站组利用TOA和AOA信息,根据最小二乘原理做MS位置估计,这些位置估计值称为中间定位结果;5)根据边长残差计算每一组BS的权值;6)每一组BS的中间定位结果乘上相应权值并求和,结果即为最终的MS位置估计。本发明有效减少误差、提升定位精度。
法律进度
  • 2024-01-26 专利实施许可合同备案的生效 IPC(主分类): H04W 64/00 合同备案号: X2024980000361 专利申请号: 20161 ...

  • 2024-01-19 专利实施许可合同备案的生效 IPC(主分类): H04W 64/00 合同备案号: X2023980054807 专利申请号: 20161 ...

  • 2024-01-19 专利实施许可合同备案的生效 IPC(主分类): H04W 64/00 合同备案号: X2023980054817 专利申请号: 20161 ...

  • 2024-01-19 专利实施许可合同备案的生效 IPC(主分类): H04W 64/00 合同备案号: X2023980054814 专利申请号: 20161 ...

  • 2019-11-05 授权 ...

  • 2016-10-26 实质审查的生效 IPC(主分类): H04W 64/00 专利申请号: 201610541937.9 申请日: 2016. ...

  • 2016-09-28 公开 ...

同类专利
  • 基于共面度的无线传感网络的三维定位方法

  • 基于区域划分和坐标贴边的无线传感网络半自动节点定位方法

  • 基于最优信标组的无线传感网节点定位方法

  • 一种基于无线局域网及分层聚类的室内定位方法

  • 一种基于射频识别技术的二维TDOA协作节点部署方法

  • 一种基于TROA的NLOS传输环境无线定位方法

  • 一种适用于事件触发的分布式移动目标跟踪方法

  • 一种基于边长残差的NLOS传输基站识别与定位方法

  • 一种基于插值的室内指纹定位方法

  • 基于MDS的终端RSRP差异补偿的定位方法

  • 一种基于Probe Request帧的智能终端被动定位方法

  • 一种基于海伦公式计算面积残差的二次规划定位方法

咨询该专利

您还可以
推荐专利
{{ v.name }}
取 消 确 定