• 专利申请
    2023-11-09
  • 公布公告
    2024-07-09
  • 授权日期
    2024-07-09
  • 终止
    2034-07-07
一种电阻原材料的混合设备
一种电阻原材料的混合设备
* 专利信息仅供参考,不具有法律效力。 有效专利
CN202323021642.3 2023-11-09 B01F27/90 {{ classMap["B01F27/90"] }}
深圳市建宏吉泰科技有限公司 查看申请人名下所有专利
广东省深圳市光明新区光明街道白花社区鹏亿发工业园B栋6楼
专利分类项目
专利注册信息
初审公告期号 2023-11-09 初审公告日期 2024-07-09
注册公告期号 2024-07-09 注册公告日期 2024-07-09
专用权期限 2024-07-09 - 2034-07-07 专利类型 实用新型
代理组织机构 深圳政科创新专利代理事务所 查看该机构代理的所有专利
专利介绍
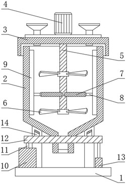
本实用新型涉及混合设备技术领域,具体为一种电阻原材料的混合设备,包括方板,所述方板的表面固定连接有搅拌桶和立柱,所述立柱的表面固定连接有料箱,所述搅拌桶的表面固定连接有连接方管,所述料箱的内部转动连接有第一转轴,所述第一转轴的表面固定连接有弧形板,所述第一转轴的一端固定连接有第一电机。优点在于:将物料投入到料箱内,物料会落到弧形板上,启动第一电机带动第一转轴旋转,使得弧形板在料箱内旋转,每一弧形板上均可存放一定量的物料,在旋转过程中将物料投入到连接方管内从而进入到搅拌桶内,改变第一电机输出轴的转速,即可调节下料速度,可使得物料有序下落,避免出现堵塞的情况。
法律进度
  • 2024-07-09 授权 ...

同类专利

咨询该专利

您还可以
推荐专利
{{ v.name }}
取 消 确 定