• 专利申请
    2020-07-23
  • 公布公告
    2022-01-28
  • 授权日期
    2022-01-28
  • 终止
    2032-01-26
一种具有辅料配比结构的青稞麦片加工用辅料清理机构
一种具有辅料配比结构的青稞麦片加工用辅料清理机构
* 专利信息仅供参考,不具有法律效力。 有效专利
CN202010717455.0 2020-07-23 B01F27/90 {{ classMap["B01F27/90"] }}
湖南文理学院 查看申请人名下所有专利
湖南省常德市武陵区洞庭大道3150号
专利分类项目
专利注册信息
初审公告期号 2020-07-23 初审公告日期 2022-01-28
注册公告期号 2022-01-28 注册公告日期 2022-01-28
专用权期限 2022-01-28 - 2032-01-26 专利类型 发明授权
代理组织机构 常德天弘知识产权代理事务所 查看该机构代理的所有专利
专利介绍
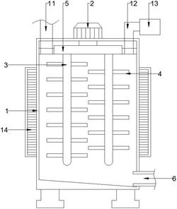
本发明涉及青稞麦片加工技术领域,具体为一种具有辅料配比结构的青稞麦片加工用辅料清理机构,装置主体,所述装置主体包括装置壳体,所述装置壳体的一侧通过安装板固定安装有第一电机,所述第一电机的顶端设置有传送带,本发明通过设置有配比机构和顶出机构,解决了现有的青稞麦片在制备的过程中在对辅料配比时十分的不便的问题,进一步的通过设置有第一电机、搅拌轴和刮边叶,解决了现有的青稞麦片在制备的过程中,辅料加入搅拌混合装置进行糊化时,时常会附着于搅拌混合装置的内壁上的问题,进一步的通过设置有升降机构,使得工作人员在对配比机构进行操作时可根据自身的身高来调整至合适的高度,从而提高了工作人员的工作效率。
法律进度
  • 2022-01-28 授权 ...

  • 2020-11-03 实质审查的生效 IPC(主分类): B01F 7/18 专利申请号: 202010717455.0 申请日: 2020.07. ...

  • 2020-10-16 公开 ...

同类专利

咨询该专利

您还可以
推荐专利
{{ v.name }}
取 消 确 定