• 专利申请
    2023-02-24
  • 公布公告
    2023-08-22
  • 授权日期
    2023-08-22
  • 终止
    2033-08-19
中通道管梁连接支架定位治具
中通道管梁连接支架定位治具
* 专利信息仅供参考,不具有法律效力。 有效专利
CN202320302106.1 2023-02-24 B21D43/00 {{ classMap["B21D43/00"] }}
芜湖鸿腾金属制品有限公司 查看申请人名下所有专利
安徽省芜湖市鸠江区金湾工业园3号厂房
专利分类项目
专利注册信息
初审公告期号 2023-02-24 初审公告日期 2023-08-22
注册公告期号 2023-08-22 注册公告日期 2023-08-22
专用权期限 2023-08-22 - 2033-08-19 专利类型 实用新型
代理组织机构 深圳市广诺专利代理事务所 查看该机构代理的所有专利
专利介绍
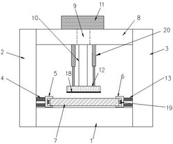
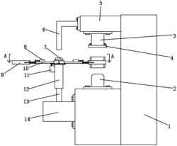
本实用新型涉及中通道管梁连接支架技术领域,提供中通道管梁连接支架定位治具,包括支撑板、冲压模座和定位板,冲压模座的顶端安装有冲压模具,且冲压模具的顶端安装有中通道管梁连接支架本体,冲压模座顶端的两侧均安装有支撑板,支撑板的一侧均安装有驱动气缸,且驱动气缸的一侧均安装有定位板,定位板的内部均设置有移动结构,定位板的一侧均安装有第一夹头,定位板一侧的两端均安装有限位板。本实用新型通过在限位板另一侧两端设置的把手,旋转把手,调节丝杆移动,通过调节丝杆的移动,实现调节第二夹头角度的目的,以便第二夹头能与中通道管梁连接支架本体完全的贴合,进而提高对中通道管梁连接支架本体的定位效果。
法律进度
  • 2023-08-22 授权 ...

同类专利

咨询该专利

您还可以
推荐专利
{{ v.name }}
取 消 确 定