• 专利申请
    2022-04-12
  • 公布公告
    2022-09-02
  • 授权日期
    --
  • 终止
    2032-08-30
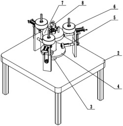
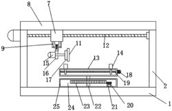
一种用于冲压线冲压头打磨磨床
一种用于冲压线冲压头打磨磨床
* 专利信息仅供参考,不具有法律效力。 有效专利
CN202220838475.8 2022-04-12 B24B19/00 {{ classMap["B24B19/00"] }}
苏州兴涵泰新能源科技有限公司 查看申请人名下所有专利
江苏省苏州市高新区浒杨路46号
专利分类项目
专利注册信息
初审公告期号 2022-04-12 初审公告日期 2022-09-02
注册公告期号 -- 注册公告日期 --
专用权期限 2022-09-02 - 2032-08-30 专利类型 实用新型
代理组织机构 苏州睿翼专利代理事务所 查看该机构代理的所有专利
专利介绍
本实用新型公开了一种用于冲压线冲压头打磨磨床,具体涉及磨床技术领域,在对冲压头进行打磨时,会产生火星,溅到人的身体上,会对人体造成损伤,在对冲压头进行打磨时,现有的夹持装置,不能稳定的对冲压头进行固定,且不方便进行维护,包括磨床本体,所述磨床本体的外侧表面设有防护组件,所述磨床本体上可拆卸设有夹持组件,本实用新型通过拉动拉板使活动杆移动,使方形块与连接块脱离,通过将矩形板下表面的固定块插入到固定槽内,松开拉板通过弹簧使滑板移动,最终使方形块插入到方形槽内将矩形板连接在磨床本体的一侧,通过控制磨床本体对冲压头进行打磨,通过透明防护板可防止打磨时产生的火星溅到工人的身上,同时不影响工人观察。
法律进度
暂无数据
同类专利

咨询该专利

您还可以
推荐专利
{{ v.name }}
取 消 确 定