• 专利申请
    2022-10-12
  • 公布公告
    2024-02-27
  • 授权日期
    2024-02-27
  • 终止
    2034-02-24
一种瓷砖免破坏拆除装置
一种瓷砖免破坏拆除装置
* 专利信息仅供参考,不具有法律效力。 有效专利
CN202211245266.3 2022-10-12 E04G23/00 {{ classMap["E04G23/00"] }}
黄海涛 查看申请人名下所有专利
河南省洛阳市西工区定鼎南路3号
专利分类项目
专利注册信息
初审公告期号 2022-10-12 初审公告日期 2024-02-27
注册公告期号 2024-02-27 注册公告日期 2024-02-27
专用权期限 2024-02-27 - 2034-02-24 专利类型 发明授权
代理组织机构 合肥利交桥专利代理有限公司 查看该机构代理的所有专利
专利介绍
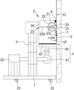
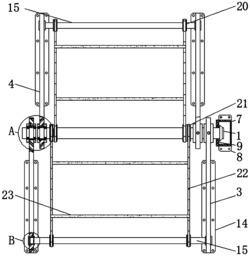
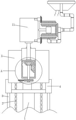
本发明涉及一种瓷砖免破坏拆除装置,包括一个支撑模块和两个切割模块,支撑模块包括两个矩形板,两个矩形板之间固定有伸缩杆,切割模块,包括一个矩形的壳体,壳体的上端固定有第一直杆,第一直杆的前侧铰接有第二直杆,壳体的下端面开设有滑槽,壳体内分别开设有前后两个腔体,壳体下端面开设有直槽口,后侧的腔体内有第一转轴,第一转轴中部固定有切割刀片,前侧的腔体内有一个横杆,横杆下端固定有一个定滑轮,第二直杆上固定有一根线锯;本发明通过对瓷砖缝切割使线锯能够伸至瓷砖下侧,并利用交替按压第二直杆的方式实现线锯的往复运动进行切割瓷砖下方的混凝土,操作方式简单快捷,保证不破会瓷砖本体的情况下对瓷砖进行拆卸。
法律进度
  • 2024-02-27 授权 ...

  • 2022-12-27 实质审查的生效 IPC(主分类): E04G 23/00 专利申请号: 202211245266.3 申请日: 2022.10 ...

  • 2022-12-09 公开 ...

同类专利

咨询该专利

您还可以
推荐专利
{{ v.name }}
取 消 确 定