• 专利申请
    2022-01-11
  • 公布公告
    2023-04-28
  • 授权日期
    2023-04-28
  • 终止
    2033-04-25
一种美术图案设计用废纸处理设备
一种美术图案设计用废纸处理设备
* 专利信息仅供参考,不具有法律效力。 有效专利
CN202210025822.X 2022-01-11 B02C18/14 {{ classMap["B02C18/14"] }}
湖南文理学院 查看申请人名下所有专利
湖南省常德市洞庭大道3150号
专利分类项目
专利注册信息
初审公告期号 2022-01-11 初审公告日期 2023-04-28
注册公告期号 2023-04-28 注册公告日期 2023-04-28
专用权期限 2023-04-28 - 2033-04-25 专利类型 发明授权
代理组织机构 北京汇捷知识产权代理事务所 查看该机构代理的所有专利
专利介绍
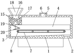
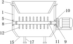
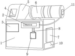
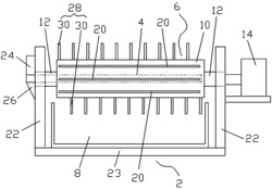
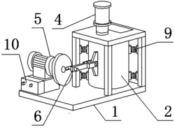
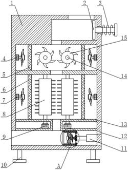
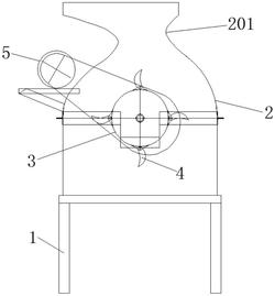
本发明公开了一种美术图案设计用废纸处理设备,其结构包括粉碎箱、电机、按钮,粉碎箱右侧端面嵌固安装有电机,并且按钮嵌在粉碎箱顶面,开闭片下端对牛纸皮夹住抵触,准确的进入到两个粉碎机构连接的间隙处,碎刀片对牛皮纸进行粉碎,通过弹簧杆使得碎刀片进行自动伸缩调节,避免牛皮纸与碎刀片之间产生较大的拉扯力,通过勾板将条形的废纸进行勾住,提高将粉碎后的废纸进行排出,避免废纸在箱体内部发生堵塞,部分的牛皮纸难以粉碎成细小的条状,这时牛皮纸的下端与导向板发生接触,通过滚珠起到辅助滑动,通过粉碎机构在导向板内侧进行转动粉碎,弹力杆使得切刀之间的距离进行调节,提高对牛皮纸的粉碎效果。
法律进度
  • 2023-04-28 授权 ...

  • 2022-06-21 实质审查的生效 IPC(主分类): B02C 18/14 专利申请号: 202210025822.X 申请日: 2022.01 ...

  • 2022-05-27 公开 ...

同类专利

咨询该专利

您还可以
推荐专利
{{ v.name }}
取 消 确 定