• 专利申请
    2020-06-17
  • 公布公告
    2020-09-18
  • 授权日期
    2021-11-19
  • 终止
    2030-09-16
一种对纺织品大小进行分类的粉碎设备
一种对纺织品大小进行分类的粉碎设备
* 专利信息仅供参考,不具有法律效力。 有效专利
CN202010556451.9 2020-06-17 B02C18/14 {{ classMap["B02C18/14"] }}
广州世潮科技有限公司 查看申请人名下所有专利
广东省广州市天河区天河路518号1929房A08(仅限办公)
专利分类项目
专利注册信息
初审公告期号 2020-06-17 初审公告日期 2020-09-18
注册公告期号 2021-11-19 注册公告日期 2021-11-19
专用权期限 2020-09-18 - 2030-09-16 专利类型 发明公开
代理组织机构 --
专利介绍
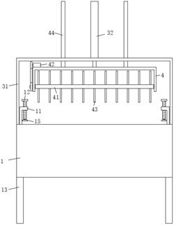
本发明涉及纺织品技术领域,且公开了一种对纺织品大小进行分类的粉碎设备,包括设备主体,设备主体的顶部设置有进料口,设备主体的内部设置有驱动电机,驱动电机的左右两侧均活动连接有驱动螺杆,驱动螺杆的内侧设置有活动块,活动块的外侧活动连接有第一活动杆,第一活动杆的外侧活动连接有第二活动杆,第二活动杆的外侧活动连接有卡扣,卡扣的外侧活动连接有拉伸弹簧,拉伸套的内侧设置有进料开口。该对纺织品大小进行分类的粉碎设备,通过设置有分类螺杆,进入设备主体内部的纺织布穿过分类螺杆,纺织布缓慢穿过分类螺杆,并进入后续的粉碎流程,避免大量纺织布同时进入粉碎流程,造成设备堵塞的问题。
法律进度
  • 2021-11-19 授权 ...

  • 2021-11-16 专利申请权的转移 登记生效日: 2021.11.04 申请人由广州世潮科技有限公司变更为深圳市雅赞童馨贸易有限公司 地址由510 ...

  • 2021-11-09 著录事项变更 发明人由丁火杰 变更为陈宗汉 丁火杰  ...

  • 2020-10-20 实质审查的生效 IPC(主分类): B02C 18/14 专利申请号: 202010556451.9 申请日: 2020.06 ...

  • 2020-09-18 公开 ...

同类专利

咨询该专利

您还可以
推荐专利
{{ v.name }}
取 消 确 定