• 专利申请
    2021-12-22
  • 公布公告
    2022-11-25
  • 授权日期
    2022-11-25
  • 终止
    2032-11-22
一种化妆棉切片压印机
一种化妆棉切片压印机
* 专利信息仅供参考,不具有法律效力。 有效专利
CN202123320840.0 2021-12-22 B26D7/26 {{ classMap["B26D7/26"] }}
兴化市华良敷料卫生用品有限公司 查看申请人名下所有专利
江苏省泰州市兴化市永丰镇经济开发区
专利分类项目
专利注册信息
初审公告期号 2021-12-22 初审公告日期 2022-11-25
注册公告期号 2022-11-25 注册公告日期 2022-11-25
专用权期限 2022-11-25 - 2032-11-22 专利类型 实用新型
代理组织机构 --
专利介绍
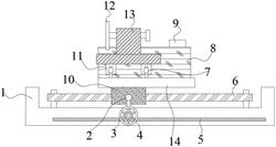
本实用新型公开了一种化妆棉切片压印机,包括壳体,所述壳体的上端设置有驱动电机,所述驱动电机的一端设置有转轴,所述转轴的外部设置有第二带轮,所述第二带轮的外部设置有皮带,所述壳体的内部设置有转杆,所述转杆的外部设置有若干个分切刀,所述分切刀的一侧设置有固定套,所述固定套的外部设置有若干个固定螺栓,所述转杆的外部设置有第一带轮。本实用新型中,通过设置固定螺栓和转杆,利用固定螺栓将分切刀固定在转杆上,也可以利用固定螺栓调整分切刀之间的距离,可以调整化妆棉的大小,增大设备的利用率。
法律进度
  • 2022-11-25 授权 ...

同类专利

咨询该专利

您还可以
推荐专利
{{ v.name }}
取 消 确 定