• 专利申请
    2021-09-28
  • 公布公告
    2022-01-21
  • 授权日期
    2022-01-21
  • 终止
    2032-01-19
一种用于塑胶制品的高效脱模机构
一种用于塑胶制品的高效脱模机构
* 专利信息仅供参考,不具有法律效力。 有效专利
CN202122364582.X 2021-09-28 B29C45/26 {{ classMap["B29C45/26"] }}
河南维俏精密塑胶科技有限公司 查看申请人名下所有专利
河南省周口市扶沟县产业集聚区一号路西段
专利分类项目
专利注册信息
初审公告期号 2021-09-28 初审公告日期 2022-01-21
注册公告期号 2022-01-21 注册公告日期 2022-01-21
专用权期限 2022-01-21 - 2032-01-19 专利类型 实用新型
代理组织机构 成都市鼎宏恒业知识产权代理事务所 查看该机构代理的所有专利
专利介绍
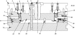
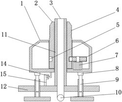
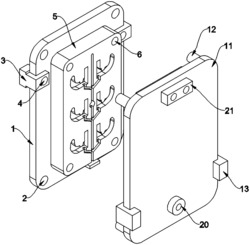
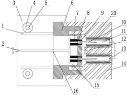
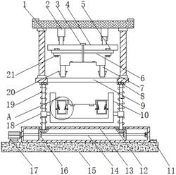
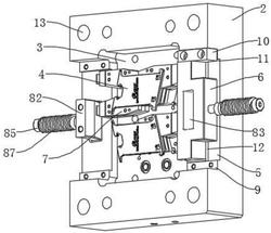
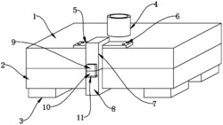
本实用新型公开了一种用于塑胶制品的高效脱模机构,包括:下模,其内设有模腔;脱模板,设于所述模腔内;用于驱动所述脱模板在所述模腔内上下移动的驱动件,所述驱动件与所述脱模板相连;与所述下模配合使用的上模,所述上模位于所述下模的正上方;上模座,所述上模固定于所述上模座上;缓冲件,设于所述上模座和所述下模之间。脱模时,脱模板在液压杆的作用下向上运动,同时高压气泵向气孔通道内通入高压气,高压气通过通气孔内的单向阀,在高压气以及液压杆的配合作用下,成型塑胶制品脱离下模并与脱模板分离,与传统脱模方式相比,本申请在脱模过程中不会对塑胶制品造成损伤,且脱模效率高。
法律进度
  • 2022-01-21 授权 ...

同类专利

咨询该专利

您还可以
推荐专利
{{ v.name }}
取 消 确 定