• 专利申请
    2016-04-14
  • 公布公告
    2016-06-22
  • 授权日期
    2018-09-04
  • 终止
    2026-06-20
一种洗衣机门封模具
一种洗衣机门封模具
* 专利信息仅供参考,不具有法律效力。 有效专利
CN201610230256.0 2016-04-14 B29C45/26 {{ classMap["B29C45/26"] }}
青岛开世密封工业有限公司 查看申请人名下所有专利
山东省青岛市市北区嘉禾路7号
专利分类项目
专利注册信息
初审公告期号 2016-04-14 初审公告日期 2016-06-22
注册公告期号 2018-09-04 注册公告日期 2018-09-04
专用权期限 2016-06-22 - 2026-06-20 专利类型 发明公开
代理组织机构 --
专利介绍
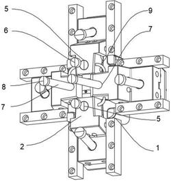
一种洗衣机门封模具,包括由上模、第一上模芯、第二上模芯、下模、下模芯、中模和中芯构成的注射件模腔;中芯设置在上模和下模之间;第一上模芯和第二上模芯设置在上模上;下模芯设置在下模上;中芯通过拉杆与上模相连;中模的上面设有上哈夫模块,中模的下面设有下哈夫模块,上下滑块与中模内置有压缩弹簧,用于滑块外移张开;上模上设有注射嘴,从模具下端注胶,其能够有效防止注胶胶料裹挟流道杂质存于密封唇,避免上端注胶在注胶末端时,密封唇部易产生杂质、窝气等缺陷,确保制品关键部位密封唇的质量;上下模均设有导向销,引导哈夫滑块开合,摩擦力小,不容易起刺,机构运行可靠性高,可长时间保持合模精度,使用寿命长。
法律进度
  • 2021-01-08 专利权的转移 登记生效日: 2020.12.25 专利权人由青岛开世密封工业有限公司变更为山东钧策科技服务有限公司 地址由2 ...

  • 2018-09-04 授权 ...

  • 2016-07-20 实质审查的生效 IPC(主分类): B29C 45/26 专利申请号: 201610230256.0 申请日: 2016. ...

  • 2016-06-22 公开 ...

同类专利

咨询该专利

您还可以
推荐专利
{{ v.name }}
取 消 确 定