• 专利申请
    2021-11-30
  • 公布公告
    2024-07-19
  • 授权日期
    2024-07-19
  • 终止
    2034-07-17
一种口罩弹簧绳稳定性检测设备
一种口罩弹簧绳稳定性检测设备
* 专利信息仅供参考,不具有法律效力。 有效专利
CN202111441429.0 2021-11-30 B07C5/02 {{ classMap["B07C5/02"] }}
淮北开策机械科技有限公司 查看申请人名下所有专利
安徽省淮北市经济开发区高新区新区创业园6号楼
专利分类项目
专利注册信息
初审公告期号 2021-11-30 初审公告日期 2024-07-19
注册公告期号 2024-07-19 注册公告日期 2024-07-19
专用权期限 2024-07-19 - 2034-07-17 专利类型 发明授权
代理组织机构 北京奇眸智达知识产权代理有限公司 查看该机构代理的所有专利
专利介绍
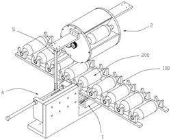
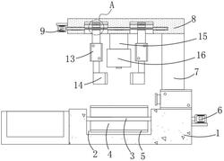
发明属于口罩加工检测技术领域,为一种口罩弹簧绳稳定性检测设备,一种口罩弹簧绳稳定性检测设备,包括壳体,所述壳体左侧壁上侧开设有固定槽,所述固定槽内固定设有电动伸缩杆,所述壳体上侧设有检测滑轨,检测滑轨用于检测口罩弹簧绳的强度,检测滑轨包括所述壳体左侧壁前后对称固定设有拉伸滑轨,每个所述拉伸滑轨右端固定设有筛选滑轨。本发明将大批量的待检测口罩套在口罩架上,通过电动伸缩杆进行伸长,带动检测机构沿检测滑轨运动,在拉伸滑轨进行弹簧绳拉伸检测,筛选滑轨完成对不合格产品分离,并在卸料滑轨对合格产品脱离,在分离机构的作用下,将检测结果分离,实现将检测后的口罩合格产品与不合格产品分离处理。
法律进度
  • 2024-07-19 授权 ...

  • 2024-07-12 专利申请权的转移 登记生效日: 2024.06.25 申请人由贺军变更为淮北开策机械科技有限公司 国家或地区由中国变更为中国 地 ...

  • 2023-11-28 专利申请权的转移 登记生效日: 2023.11.12 申请人由上海峥慕机械设备有限公司变更为贺军 地址由201401 上海市奉贤 ...

  • 2022-01-28 实质审查的生效 IPC(主分类): B07C 5/02 专利申请号: 202111441429.0 申请日: 2021.11. ...

  • 2022-01-11 公开 ...

同类专利

咨询该专利

您还可以
推荐专利
{{ v.name }}
取 消 确 定