• 专利申请
    2020-05-28
  • 公布公告
    2022-08-26
  • 授权日期
    2022-08-26
  • 终止
    2032-08-23
一种用于灌沙法检测路基实度的挖孔修孔装置
一种用于灌沙法检测路基实度的挖孔修孔装置
* 专利信息仅供参考,不具有法律效力。 有效专利
CN202110905025.6 2020-05-28 E02D1/00 {{ classMap["E02D1/00"] }}
山东交通职业学院 查看申请人名下所有专利
山东省潍坊市高新区潍县中路8号山东交通职业学院
专利分类项目
专利注册信息
初审公告期号 2020-05-28 初审公告日期 2022-08-26
注册公告期号 2022-08-26 注册公告日期 2022-08-26
专用权期限 2022-08-26 - 2032-08-23 专利类型 发明授权
代理组织机构 --
专利介绍
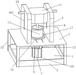
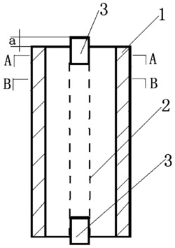
本发明公开了一种用于灌沙法检测路基实度的挖孔修孔装置,包括矩形的基板、支架、两导向板、修孔组件、挖土组件、驱动组件;基板的四周固定设有侧板,相邻的两侧板之间固定连接;基板上设有标准孔且标准孔的中心线过基板的对角线交点;支架可拆卸地安装在基板上,支架远离基板的一侧设有支架板,支架板上设有与标准孔的中心线位于同一直线上的滑孔;修孔组件为圆筒状,修孔组件穿过滑孔与滑孔之间转动连接;修孔组件的底部设有修筒;挖土组件包括传动杆、调节环和螺旋叶片。本发明不需要人工事先挖孔,能够同时完成挖孔与对孔的孔壁、孔底修整,且能够保证所挖出的孔为圆柱孔,整个装置结构简单操作方便。
法律进度
  • 2022-08-26 授权 ...

  • 2021-11-30 实质审查的生效 IPC(主分类): E02D 1/00 专利申请号: 202110905025.6 申请日: 2020.05. ...

  • 2021-11-12 公开 ...

同类专利
  • 一种手持式深基坑地表沉降预测装置及其工作流程

  • 一种真空预压密封膜下土体真空度监测装置

  • 一种测量偏压荷载作用下竖向土压力分布的试验装置

  • 一种测斜仪辅助触发装置

  • 一种古遗址的地下水疏控管及其使用方法

  • 一种用于灌砂法测量路面压实度的修孔装置

  • 一种适用于岩土工程施工土层沉降用监测装置

  • 一种便携式密实度检测支架

  • 一种履带式静力触探车及其遮挡装置

  • 一种履带式静力触探车及其配重装置

  • 一种履带式静力触探车及其防护装置

  • 用于测量侧向压力的土压力盒埋设装置

咨询该专利

您还可以
推荐专利
{{ v.name }}
取 消 确 定