• 专利申请
    2020-07-03
  • 公布公告
    2022-09-23
  • 授权日期
    2022-09-23
  • 终止
    2032-09-20
一种用于灌砂法测量路面压实度的修孔装置
一种用于灌砂法测量路面压实度的修孔装置
* 专利信息仅供参考,不具有法律效力。 有效专利
CN202010634796.1 2020-07-03 E02D1/00 {{ classMap["E02D1/00"] }}
山东交通职业学院 查看申请人名下所有专利
山东省潍坊市高新技术开发区潍县中路8号
专利分类项目
专利注册信息
初审公告期号 2020-07-03 初审公告日期 2022-09-23
注册公告期号 2022-09-23 注册公告日期 2022-09-23
专用权期限 2022-09-23 - 2032-09-20 专利类型 发明授权
代理组织机构 --
专利介绍
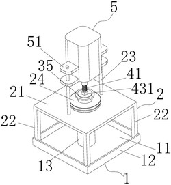
本发明公开了一种用于灌砂法测量路面压实度的修孔装置,包括基座、支架和修筒;所述基座由底板和侧板构成,所述底板为矩形板;所述侧板为长条形板,且数量为四个;四个所述侧板分别固定安装在所述底板的边沿处,且四个所述侧板首尾顺次连接;所述底板上设有第一圆孔;所述基座上还设有防刮筒,所述防刮筒沿从下到上依次包括防刮部和第一导向部,所述防刮部和所述第一导向部均为圆筒状,所述防刮部的内径与所述第一圆孔的直径相等,所述第一导向部的内径小于所述第一圆孔的直径;且所述第一圆孔、所述防刮部和所述第一导向部的中心线重合。本发明能够便于防止刀刃损坏。
法律进度
  • 2024-08-02 专利权的转移 登记生效日: 2024.07.17 专利权人由山东交通职业学院变更为合肥智慧龙机械设计有限公司 国家或地区由中 ...

  • 2022-09-23 授权 ...

  • 2022-01-21 实质审查的生效 IPC(主分类): E02D 1/00 专利申请号: 202010634796.1 申请日: 2020.07. ...

  • 2022-01-04 公开 ...

同类专利
  • 一种手持式深基坑地表沉降预测装置及其工作流程

  • 一种真空预压密封膜下土体真空度监测装置

  • 一种测量偏压荷载作用下竖向土压力分布的试验装置

  • 一种测斜仪辅助触发装置

  • 一种古遗址的地下水疏控管及其使用方法

  • 一种适用于岩土工程施工土层沉降用监测装置

  • 一种便携式密实度检测支架

  • 一种履带式静力触探车及其遮挡装置

  • 一种履带式静力触探车及其配重装置

  • 一种履带式静力触探车及其防护装置

  • 用于测量侧向压力的土压力盒埋设装置

  • 一种用于灌沙法检测路基实度的挖孔修孔装置

咨询该专利

您还可以
推荐专利
{{ v.name }}
取 消 确 定