• 专利申请
    2020-11-30
  • 公布公告
    2021-07-23
  • 授权日期
    2021-07-23
  • 终止
    2031-07-21
一种自带清扫功能的绝缘子
一种自带清扫功能的绝缘子
* 专利信息仅供参考,不具有法律效力。 有效专利
CN202022830373.5 2020-11-30 B08B1/04 {{ classMap["B08B1/04"] }}
青岛万川电力设备有限公司 查看申请人名下所有专利
山东省青岛市黄岛区海滨工业园钱家山路
专利分类项目
专利注册信息
初审公告期号 2020-11-30 初审公告日期 2021-07-23
注册公告期号 2021-07-23 注册公告日期 2021-07-23
专用权期限 2021-07-23 - 2031-07-21 专利类型 实用新型
代理组织机构 北京盛凡智荣知识产权代理有限公司 查看该机构代理的所有专利
专利介绍
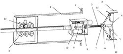
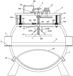
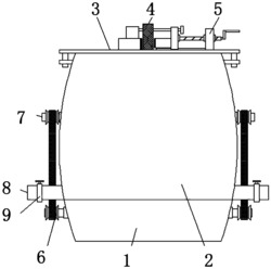
本实用新型公开了一种自带清扫功能的绝缘子,包括绝缘子本体;所述绝缘子本体的左端贯穿轴承的中轴并与轴承固定连接,所述轴承左端的外侧固定安装有若干组扇叶,所述轴承的右侧贯穿固定板右侧的中部并固定连接,所述固定板右侧的上端水平设置有安装板,所述安装板的底侧通过强力胶水粘接有海绵块。本实用新型通过绝缘子本体的左端贯穿安装有轴承,轴承左端的外侧固定安装有若干组扇叶,进一步高空中的气流能够带动扇叶转动,从而带动轴承右侧的固定板转动,通过固定板右侧的安装板固定安装有海绵块,进一步固定板能够带动海绵块转动,从而自动对绝缘子本体外侧的灰尘进行清理,一方面节约能源,安全系数高,另一方面清理效果好。
法律进度
  • 2021-07-23 授权 ...

同类专利

咨询该专利

您还可以
推荐专利
{{ v.name }}
取 消 确 定