• 专利申请
    2020-11-04
  • 公布公告
    2021-07-16
  • 授权日期
    2021-07-16
  • 终止
    2031-07-14
一种带有除虫功能的智慧路灯
一种带有除虫功能的智慧路灯
* 专利信息仅供参考,不具有法律效力。 有效专利
CN202022524208.7 2020-11-04 F21S8/08 {{ classMap["F21S8/08"] }}
江苏豪杰照明科技有限公司 查看申请人名下所有专利
江苏省扬州市高邮市菱塘回族乡310县道与盛庄路交叉口
专利分类项目
专利注册信息
初审公告期号 2020-11-04 初审公告日期 2021-07-16
注册公告期号 2021-07-16 注册公告日期 2021-07-16
专用权期限 2021-07-16 - 2031-07-14 专利类型 实用新型
代理组织机构 --
专利介绍
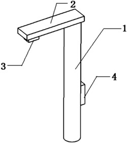
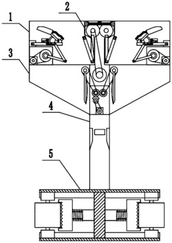
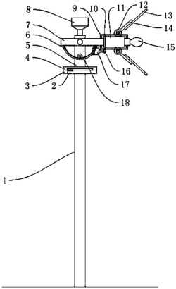
本实用新型涉及一种带有除虫功能的智慧路灯,包括底座以及灯柱,包括:所述灯柱顶端固定连接有支撑柱,所述支撑柱顶端固定连接有灯罩,所述灯柱顶端侧壁上设置有照明灯,所述灯罩内部侧壁上可拆卸安装有粘蚊板,所述灯柱侧壁上套接有挡盘组件,所述档盘组件由上转动盘与下转动盘,所述上转动盘上与所述下转动盘上开设有透光孔,所述灯柱侧壁上设有驱动组件。在本实用新型中,利用粘蚊板对昆虫或蚊虫进行灭杀,当照明灯不使用时,驱动组件带动上转动盘进行转动,使上转动盘与下转动盘上的透光孔进行错位,从而密封灯罩,防止灰尘过多地进入灯罩内附着在粘蚊板上,影响粘蚊板的使用寿命,同时长时间使用后可以对粘蚊板进行拆卸更换,保证灭虫效果。
法律进度
  • 2021-07-16 授权 ...

同类专利

咨询该专利

您还可以
推荐专利
{{ v.name }}
取 消 确 定