• 专利申请
    2016-08-29
  • 公布公告
    2016-12-07
  • 授权日期
    2018-12-11
  • 终止
    2026-12-05
电动可调式升降路灯
电动可调式升降路灯
* 专利信息仅供参考,不具有法律效力。 有效专利
CN201610745896.5 2016-08-29 F21S8/08 {{ classMap["F21S8/08"] }}
浙江工业大学 查看申请人名下所有专利
浙江省杭州市下城区朝晖六区
专利分类项目
专利注册信息
初审公告期号 2016-08-29 初审公告日期 2016-12-07
注册公告期号 2018-12-11 注册公告日期 2018-12-11
专用权期限 2016-12-07 - 2026-12-05 专利类型 发明公开
代理组织机构 杭州浙科专利事务所 查看该机构代理的所有专利
专利介绍
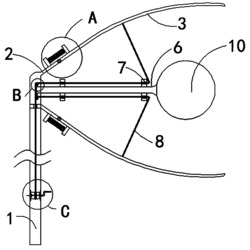
电动可调式升降路灯,包括空心灯柱、设置在空心灯柱顶部的灯臂及设置在灯臂端部的灯头,所述空心灯柱底部固定设置底座箱,所述底座箱内部固定设置电机,所述电机通过电机轴与减速机构传动连接,所述减速机构的旋转轴上设有卷筒,所述空心灯柱的内部配合设置滑块,所述滑块通过设置在空心灯柱侧边上的滑口槽与灯臂固定连接的,所述空心灯柱内部的上方设有滑轮,所述滑轮固定设置在滑轮支座上,所述卷筒上绕设有钢丝绳,所述钢丝绳通过滑轮与滑块固定连接。本发明的有益效果是,采用多重限位机构,利用了蜗轮蜗杆的自锁功能、棘轮棘爪的限位功能以及限位传感器的调节等,使用这些限位机构实现升降自锁安全,能够保障维修的安全。
法律进度
  • 2018-12-11 授权 ...

  • 2017-01-04 实质审查的生效 IPC(主分类): F21S 8/08 专利申请号: 201610745896.5 申请日: 2016.0 ...

  • 2016-12-07 公开 ...

同类专利

咨询该专利

您还可以
推荐专利
{{ v.name }}
取 消 确 定