• 专利申请
    2020-08-13
  • 公布公告
    2021-05-04
  • 授权日期
    2021-05-04
  • 终止
    2031-05-02
一种引流板连接组件
一种引流板连接组件
* 专利信息仅供参考,不具有法律效力。 有效专利
CN202021683838.2 2020-08-13 B23H11/00 {{ classMap["B23H11/00"] }}
苏州市瑞跃威机电制造有限公司 查看申请人名下所有专利
江苏省苏州市吴中区郭巷镇清扬路66号
专利分类项目
专利注册信息
初审公告期号 2020-08-13 初审公告日期 2021-05-04
注册公告期号 2021-05-04 注册公告日期 2021-05-04
专用权期限 2021-05-04 - 2031-05-02 专利类型 实用新型
代理组织机构 南京常青藤知识产权代理有限公司 查看该机构代理的所有专利
专利介绍
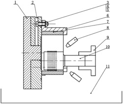
本实用新型公开了一种引流板连接组件,包括引流板和连接件,所述连接件安装在引流板上;在所述引流板的主视平面和后视平面上设有螺纹孔,并且所述螺纹孔对称设置,在所述引流板的顶面和底面分别对称设有上固定深孔和下固定深孔;在所述引流板内还设有通孔、竖向深孔和横向深孔,在所述通孔内安装有检测件;在所述竖向深孔和横向深孔与外界连通处设有螺纹,所述连接件通过螺纹安装在引流板上。该结构主要运用在慢走丝机床设备的冷却装置中,在其连接组件上设置多个连接件,可以满足多套冷却装置同时使用;在连接件上设有阀结构,便于冷却装置的调节和控制;在引流板上安装检测件,可以通过检测件对冷却装置的冷却液压强进行检测。
法律进度
  • 2021-05-04 授权 ...

同类专利

咨询该专利

您还可以
推荐专利
{{ v.name }}
取 消 确 定