• 专利申请
    2020-07-10
  • 公布公告
    2021-06-25
  • 授权日期
    2021-06-25
  • 终止
    2031-06-23
一种木塑板材切断装置
一种木塑板材切断装置
* 专利信息仅供参考,不具有法律效力。 有效专利
CN202021352879.3 2020-07-10 B26D1/15 {{ classMap["B26D1/15"] }}
乾亨贸易(杭州)有限公司 查看申请人名下所有专利
浙江省杭州市余杭区闲林街道雅乐国际花园17-16室
专利分类项目
专利注册信息
初审公告期号 2020-07-10 初审公告日期 2021-06-25
注册公告期号 2021-06-25 注册公告日期 2021-06-25
专用权期限 2021-06-25 - 2031-06-23 专利类型 实用新型
代理组织机构 浙江专橙律师事务所 查看该机构代理的所有专利
专利介绍
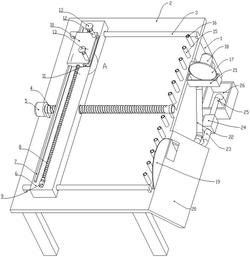
本实用新型公开了一种木塑板材切断装置,包括支撑底座,所述支撑底座上侧固定安装有盘状电锯,所述支撑底座的右端竖直固定连接有伸缩杆,所述伸缩杆的上端头处水平固定连接有滑轨,所述滑轨左侧前后成对设置有支撑框,每个所述支撑框上侧水平固定连接有横杆,所述横杆上左右成对设置有夹块且横杆滑动穿过所述夹块。本实用新型前后侧的支撑框沿着滑轨滑动,方便根据木板的宽度调节之间的间距,然后使得木板竖直支撑在前后侧的支撑框上侧,然后沿着横杆滑动左右成对的夹块,使得夹块夹住木板的上端前后侧,从而使得木板保持稳固,并且沿着滑轨滑动支撑框和木板,使得木板的切割位置对准盘状电锯,然后进行切割。
法律进度
  • 2023-10-31 专利实施许可合同备案的生效 IPC(主分类): B26D 1/15 合同备案号: X2023330000776 专利号: ZL 20202 ...

  • 2023-10-27 专利实施许可合同备案的生效 IPC(主分类): B26D 1/15 合同备案号: X2023330000773 专利号: ZL 20202 ...

  • 2023-10-27 专利实施许可合同备案的生效 IPC(主分类): B26D 1/15 合同备案号: X2023330000772 专利号: ZL 20202 ...

  • 2023-09-22 专利权的转移 登记生效日: 2023.09.07 专利权人由乾亨贸易(杭州)有限公司变更为周陈科 地址由311100 浙江省 ...

  • 2021-06-25 授权 ...

同类专利

咨询该专利

您还可以
推荐专利
{{ v.name }}
取 消 确 定