• 专利申请
    2020-04-15
  • 公布公告
    2021-02-26
  • 授权日期
    2021-02-26
  • 终止
    2031-02-24
一种T恤压花机辅助定位装置
一种T恤压花机辅助定位装置
* 专利信息仅供参考,不具有法律效力。 有效专利
CN202020553602.0 2020-04-15 B41J3/407 {{ classMap["B41J3/407"] }}
杨荣亮 查看申请人名下所有专利
贵州省黔东南苗族侗族自治州天柱县邦洞镇革溪村83号
专利分类项目
专利注册信息
初审公告期号 2020-04-15 初审公告日期 2021-02-26
注册公告期号 2021-02-26 注册公告日期 2021-02-26
专用权期限 2021-02-26 - 2031-02-24 专利类型 实用新型
代理组织机构 --
专利介绍
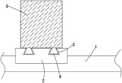
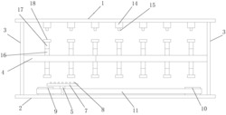
本实用新型涉及服装加工机械技术领域,且公开了一种T恤压花机辅助定位装置,包括机架,所述机架上安装有控制系统、移动装置、印花装置、转运装置和加工板,所述加工板的底面中部活动安装有驱动杆,且驱动杆的顶端固定安装有调节轮,所述驱动杆的侧壁固定安装有驱动块,且驱动块的一侧中部固定安装有复位弹簧,所述驱动杆的侧壁位于复位弹簧的内腔。本实用新型通过在加工板的底面两侧分别设置有支撑板,从而使得T恤在压花之前可通过两个支撑板将T恤撑开,进而使得加工板可对不同尺寸的加工,并且通过支撑板将T恤撑开还避免了在印花过程中衣服褶皱而导致无法正常印花的现象,最终达到适应各种T恤尺寸印花的目的。
法律进度
  • 2021-02-26 授权 ...

同类专利

咨询该专利

您还可以
推荐专利
{{ v.name }}
取 消 确 定