• 专利申请
    2020-08-21
  • 公布公告
    2021-11-19
  • 授权日期
    2021-11-19
  • 终止
    2031-11-17
一种智能调温水阀及智能调温方法
一种智能调温水阀及智能调温方法
* 专利信息仅供参考,不具有法律效力。 有效专利
CN202010848223.9 2020-08-21 F24H9/20 {{ classMap["F24H9/20"] }}
安徽科技学院 查看申请人名下所有专利
安徽省滁州市凤阳县东华路9号安徽科技学院
专利分类项目
专利注册信息
初审公告期号 2020-08-21 初审公告日期 2021-11-19
注册公告期号 2021-11-19 注册公告日期 2021-11-19
专用权期限 2021-11-19 - 2031-11-17 专利类型 发明授权
代理组织机构 北京元本知识产权代理事务所 查看该机构代理的所有专利
专利介绍
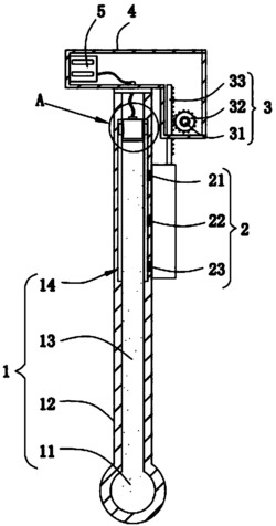
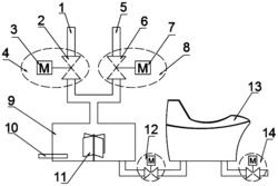
本发明涉及一种智能调温水阀及智能调温方法,所述智能调温系统包括:入水口、出水口、热水器、储水箱、循环泵、入水口、热水器、储水箱、出水口之间通过智能调温水阀连通,所述智能调温水阀包括:第一阀,用于连通入水口和出水口;第二阀,用于连通热水器的输入端和入水口,或者连通热水器的输入端和循环泵,或者将热水器的输入端同时与入水口和循环泵连通;第三阀,用于连通热水器的输出端和出水口,或者连通热水器的输出端和储水箱的输入端;第四阀,用于连通储水箱的输出端和出水口;控制系统,用于调节第一阀、第二阀、第三阀和第四阀的开闭程度。本技术方案解决了燃气热水器不能在极高环境温度和极低环境温度下正常工作的问题。
法律进度
  • 2024-09-20 专利权的转移 登记生效日: 2024.09.05 专利权人由安徽科技学院变更为合肥智慧龙机械设计有限公司 国家或地区由中国变 ...

  • 2021-11-19 授权 ...

  • 2020-12-22 实质审查的生效 IPC(主分类): F24H 9/20 专利申请号: 202010848223.9 申请日: 2020.08. ...

  • 2020-12-04 公开 ...

同类专利

咨询该专利

您还可以
推荐专利
{{ v.name }}
取 消 确 定