• 专利申请
    2020-06-29
  • 公布公告
    2022-06-14
  • 授权日期
    2022-06-14
  • 终止
    2032-06-11
一种基于机器视觉的镜片检测装置
一种基于机器视觉的镜片检测装置
* 专利信息仅供参考,不具有法律效力。 有效专利
CN202010606053.3 2020-06-29 G01N21/95 {{ classMap["G01N21/95"] }}
无锡工艺职业技术学院 查看申请人名下所有专利
江苏省无锡市宜兴市荆邑南路99号
专利分类项目
专利注册信息
初审公告期号 2020-06-29 初审公告日期 2022-06-14
注册公告期号 2022-06-14 注册公告日期 2022-06-14
专用权期限 2022-06-14 - 2032-06-11 专利类型 发明授权
代理组织机构 北京汇捷知识产权代理事务所 查看该机构代理的所有专利
专利介绍
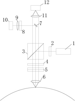
本发明公开了一种基于机器视觉的镜片检测装置,属于镜片检测领域,包括检测箱,检测箱内由上至下设有DCC相机、镜片夹持机构及打光控制机构,镜片夹持机构包括水平设置的用于放置镜片的透光载板,位于透光载板上方的相对设置的左夹板和右夹板,以及连接于左夹板和右夹板上端的驱动组件,驱动组件包括位于检测箱横截面中一条对角线上的丝杠,螺纹适配性套装在丝杠两侧的滑块,连接于左夹板与相应侧滑块之间、右夹板与相应侧滑块之间的连接杆。本发明能够确保镜片与DCC相机保持同轴关系,便于DCC相机对镜片进行拍摄;且夹持部件不会遮挡镜片,从而有利于实现对镜片的全面检测。
法律进度
  • 2024-02-02 专利权的转移 登记生效日: 2024.01.17 专利权人由无锡工艺职业技术学院变更为龙图腾网科技(合肥)股份有限公司 地址 ...

  • 2022-06-14 授权 ...

  • 2020-09-11 实质审查的生效 IPC(主分类): G01N 21/95 专利申请号: 202010606053.3 申请日: 2020.06 ...

  • 2020-08-18 公开 ...

同类专利

咨询该专利

您还可以
推荐专利
{{ v.name }}
取 消 确 定