• 专利申请
    2019-09-25
  • 公布公告
    2020-01-03
  • 授权日期
    2020-10-30
  • 终止
    2029-12-31
可快速装卸的蜂窝式塔形结构抗震房屋
可快速装卸的蜂窝式塔形结构抗震房屋
* 专利信息仅供参考,不具有法律效力。 有效专利
CN201910913063.9 2019-09-25 E04H9/02 {{ classMap["E04H9/02"] }}
三峡大学 查看申请人名下所有专利
湖北省宜昌市西陵区大学路8号
专利分类项目
专利注册信息
初审公告期号 2019-09-25 初审公告日期 2020-01-03
注册公告期号 2020-10-30 注册公告日期 2020-10-30
专用权期限 2020-01-03 - 2029-12-31 专利类型 发明公开
代理组织机构 宜昌市三峡专利事务所 查看该机构代理的所有专利
专利介绍
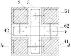
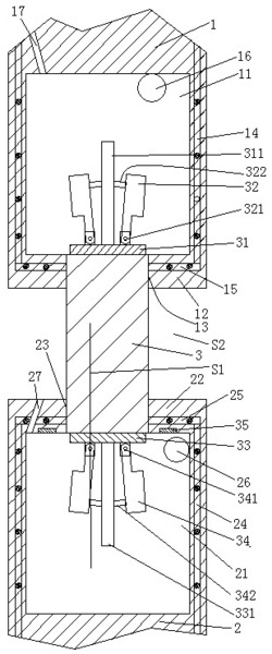
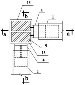
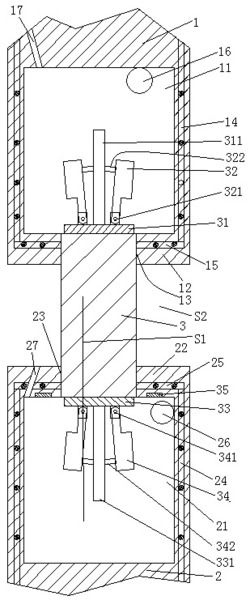
一种可快速装卸的蜂窝式塔形结构抗震房屋,它包括基础、六棱台、房屋本体、连接件、减震装置。通过基础支撑六棱台,房屋本体与六棱台连接,连接件将多个减震装置串联成一个整体结构,悬垂于多个房屋本体之间,减震装置的球形面部分深入房屋本体上的弧形凹槽内,稳定性好,组装方便快捷,抗震效果好,环保。本发明克服了原建筑物抗震效果不佳,施工周期长,效率低的问题,具有结构简单,稳定性好,组装方便快捷,抗震效果好,施工效率高,环保的特点。
法律进度
  • 2023-12-01 专利权的转移 登记生效日: 2023.11.14 专利权人由三峡大学变更为龙图腾网科技(合肥)股份有限公司 地址由44300 ...

  • 2023-12-01 专利权的转移 登记生效日: 2023.11.14 专利权人由龙图腾网科技(合肥)股份有限公司变更为合肥九州龙腾科技成果转化有 ...

  • 2023-08-08 专利实施许可合同备案的注销 合同备案号: X2023980031470 让与人: 三峡大学 受让人: 鸿创(宜昌)建筑设计有限责任公司 解 ...

  • 2023-02-07 专利实施许可合同备案的生效 IPC(主分类): E04H 9/02 合同备案号: X2023980031470 专利申请号: 201910 ...

  • 2020-10-30 授权 ...

  • 2020-02-04 实质审查的生效 IPC(主分类): E04H 9/02 专利申请号: 201910913063.9 申请日: 2019.09. ...

  • 2020-01-03 公开 ...

同类专利
  • 自供电质量阻尼复合结构的ATMD减振装置

  • 装配式混凝土结构层间隔震结构

  • 装配式混凝土结构层间隔震方法

  • 具有多摆调谐芯筒的框架-核心筒耗能减震结构体系

  • 一种用于连接钢梁与锅炉钢架的滑动支座

  • H型钢部分填充混凝土组合柱—钢筋混凝土梁节点

  • 含多个多向摇摆筒的耗能减振高层建筑结构体系

  • 一种自适性抗震组合柱及其施工方法

  • 可半主动调控阻尼性态的方斗型调谐液体阻尼器

  • 菱形十二面体堆积组合的空间球面网壳结构

  • 十四面体堆积组合的空间曲面网壳结构

  • 菱形十二面体堆积组合的空间双曲面网壳结构

咨询该专利

您还可以
推荐专利
{{ v.name }}
取 消 确 定