• 专利申请
    2019-04-03
  • 公布公告
    2020-10-27
  • 授权日期
    2020-10-27
  • 终止
    2030-10-25
一种发动机缸体加工装置
一种发动机缸体加工装置
* 专利信息仅供参考,不具有法律效力。 有效专利
CN201910264688.7 2019-04-03 B23Q3/08 {{ classMap["B23Q3/08"] }}
山东建筑大学 查看申请人名下所有专利
山东省济南市临港开发区凤鸣路
专利分类项目
专利注册信息
初审公告期号 2019-04-03 初审公告日期 2020-10-27
注册公告期号 2020-10-27 注册公告日期 2020-10-27
专用权期限 2020-10-27 - 2030-10-25 专利类型 发明授权
代理组织机构 合肥市科融知识产权代理事务所 查看该机构代理的所有专利
专利介绍
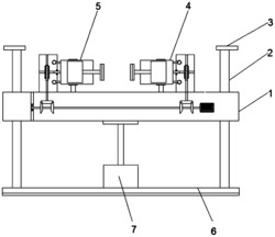
本发明公开了一种涉及发动机加工领域的发动机缸体加工装置,包括装置台,装置台的下端设有抬升装置,装置台上端对称设置有一号夹紧组件和二号夹紧组件,可通过抬升装置调节装置台的高度,从而调节发动机缸体的固定高度,满足不同工序中加工的高度需求,同时在利用夹紧装置夹紧发动机缸体后,旋转机构带动夹紧气缸进行旋转,一方面可以连续的调节加工的角度,另一方面配合固定的磨切刀具可实现对发动机缸体的自动加工,相较于传统的固定式加工装置,该装置极大的提升了对发动机缸体加工的功能性,便于在各个加工程序的使用,为发动机缸体的加工提供便利,本发明结构简单、实用性强、易于使用和推广。
法律进度
  • 2024-04-30 专利权的转移 登记生效日: 2024.04.14 专利权人由山东建筑大学变更为合肥龙智机电科技有限公司 国家或地区由中国变更 ...

  • 2020-10-27 授权 ...

  • 2019-06-18 实质审查的生效 IPC(主分类): B23Q 3/08 专利申请号: 201910264688.7 申请日: 2019.04. ...

  • 2019-05-24 公开 ...

同类专利

咨询该专利

您还可以
推荐专利
{{ v.name }}
取 消 确 定