• 专利申请
    2018-04-13
  • 公布公告
    2020-03-10
  • 授权日期
    2020-03-10
  • 终止
    2030-03-08
用于机械加工中夹紧工件的浮压机构
用于机械加工中夹紧工件的浮压机构
* 专利信息仅供参考,不具有法律效力。 有效专利
CN201810332172.7 2018-04-13 B23Q3/08 {{ classMap["B23Q3/08"] }}
湖南工程学院 查看申请人名下所有专利
湖南省湘潭市岳塘区福星东路88号湖南工程学院
专利分类项目
专利注册信息
初审公告期号 2018-04-13 初审公告日期 2020-03-10
注册公告期号 2020-03-10 注册公告日期 2020-03-10
专用权期限 2020-03-10 - 2030-03-08 专利类型 发明授权
代理组织机构 济南旌励知识产权代理事务所 查看该机构代理的所有专利
专利介绍
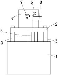
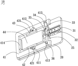
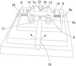
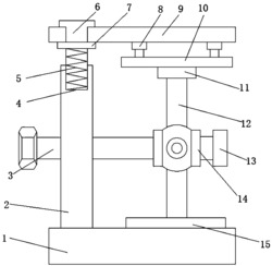
用于机械加工中夹紧工件的浮压机构,包括底座,底座上部设有横板,横板的左右两端与底座之间均通过第一支架固定连接,横板顶面左右两侧均开设球形透槽,球形透槽内均配合设置第一球体,第一球体能在对应的球形透槽内转动,第一球体顶部均开设第一通孔,第一通孔内均设有内螺纹管,内螺纹管能沿对应的第一通孔来回滑动,内螺纹管侧面与对应的第一通孔内壁紧密接触配合。本发明的两个夹持点的夹距可以根据工件的厚度自动调节,自动调节夹距的过程中还能保持两个夹持点夹紧力的平衡,结构设计巧妙,操作简单,使用方便。
法律进度
  • 2024-01-12 专利权的转移 登记生效日: 2023.12.26 专利权人由湖南工程学院变更为龙图腾网科技(合肥)股份有限公司 地址由411 ...

  • 2020-03-10 授权 ...

  • 2018-11-02 实质审查的生效 IPC(主分类): B23Q 3/08 专利申请号: 201810332172.7 申请日: 2018.0 ...

  • 2018-10-09 公开 ...

同类专利

咨询该专利

您还可以
推荐专利
{{ v.name }}
取 消 确 定