• 专利申请
    2018-12-27
  • 公布公告
    2024-08-27
  • 授权日期
    2024-08-27
  • 终止
    2034-08-25
一种智能升降的道路限高装置
一种智能升降的道路限高装置
* 专利信息仅供参考,不具有法律效力。 有效专利
CN201811612161.0 2018-12-27 E01F13/00 {{ classMap["E01F13/00"] }}
山东交通学院 查看申请人名下所有专利
山东省济南市天桥区交校路5号山东交通学院
专利分类项目
专利注册信息
初审公告期号 2018-12-27 初审公告日期 2024-08-27
注册公告期号 2024-08-27 注册公告日期 2024-08-27
专用权期限 2024-08-27 - 2034-08-25 专利类型 发明授权
代理组织机构 --
专利介绍
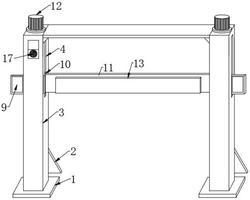
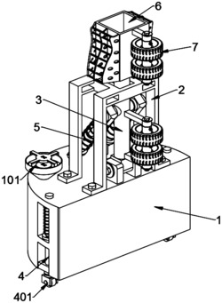
一种智能升降的道路限高装置,包括左立柱组件、右立柱组件、左滑动组件、右滑动组件、显示组件、限位杆组件、电机组件、卷绳器、滑轮、第一绳索、第二绳索、摄像头、红外传感器、警示灯、喇叭、限位开关、控制单元、后台服务器;所述的限位杆组件的两端分别放置在左滑动组件、右滑动组件上,发生车辆超高撞击时,限位杆组件可以沿着左滑动组件、右滑动组件上的下支撑杆、斜支撑杆滑动并升高,减少撞击力;本发明采用远程控制技术对限位高度进行控制,允许特殊车辆通过;采用图像识别、监控技术,对过往车辆进行有效监控和管理;采用特殊支撑结构,减少车辆对限位杆的撞击力度。
法律进度
  • 2024-08-27 授权 ...

  • 2019-04-02 实质审查的生效 IPC(主分类): E01F 13/00 专利申请号: 201811612161.0 申请日: 2018. ...

  • 2019-03-08 公开 ...

同类专利

咨询该专利

您还可以
推荐专利
{{ v.name }}
取 消 确 定